授权公布号:CN214563792U
自动调整侧规定位装置及印后机械设备
有效
申请
2020-11-06
申请公布
1970-01-01
授权
2021-11-02
预估到期
2030-11-06
| 申请号 | CN202022557275.9 |
| 申请日 | 2020-11-06 |
| 授权公布号 | CN214563792U |
| 授权公告日 | 2021-11-02 |
| 分类号 | B41F21/14 |
| 分类 | 印刷;排版机;打字机;模印机〔4〕; |
| 申请人名称 | 上海耀科印刷机械有限公司 |
| 申请人地址 | 上海市奉贤区文曲路338号 |
专利法律状态
2021-11-02
授权
状态信息
授权
摘要
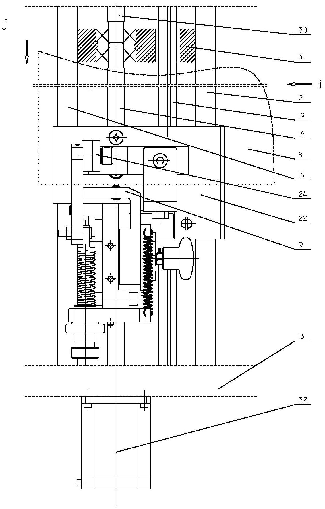
本实用新型公开了一种自动调整侧规定位装置,包括:侧规驱动电机与第一螺杆固连,第一螺杆支撑在第一侧墙板和中间支架上,侧规架下部固定有第一和第二螺母,侧规面板支撑在前和后支撑杆上;侧规架上固定有侧规传动齿轮系和与侧规传动齿轮系中的圆锥齿轮啮合的主传动圆锥齿轮,侧规传动轴从主传动圆锥齿轮穿过,侧规传动轴支撑在第一和第二侧墙板上;滚轮架通过旋转轴安装在侧规架上部侧边,侧规架上安装驱动滚轮架摆动的凸轮,凸轮由侧规传动齿轮系带动旋转;滚轮架上靠近凸轮一端安装有凸轮滚子,滚轮架靠近侧规滚花轮一端安装有拉纸滚轮,侧规滚花轮安装在侧规架上由侧规传动齿轮系驱动转动。本实用新型能根据预设调整参数实现自动调整。


