授权公布号:CN215705023U
自动纸幅调节机构及印后机械设备
有效
申请
2020-11-06
申请公布
1970-01-01
授权
2022-02-01
预估到期
2030-11-06
| 申请号 | CN202022559226.9 |
| 申请日 | 2020-11-06 |
| 授权公布号 | CN215705023U |
| 授权公告日 | 2022-02-01 |
| 分类号 | B41F21/00;B41F21/12;B41F21/14;B41F33/16 |
| 分类 | 印刷;排版机;打字机;模印机〔4〕; |
| 申请人名称 | 上海耀科印刷机械有限公司 |
| 申请人地址 | 上海市奉贤区文曲路338号 |
专利法律状态
2022-02-01
授权
状态信息
授权
摘要
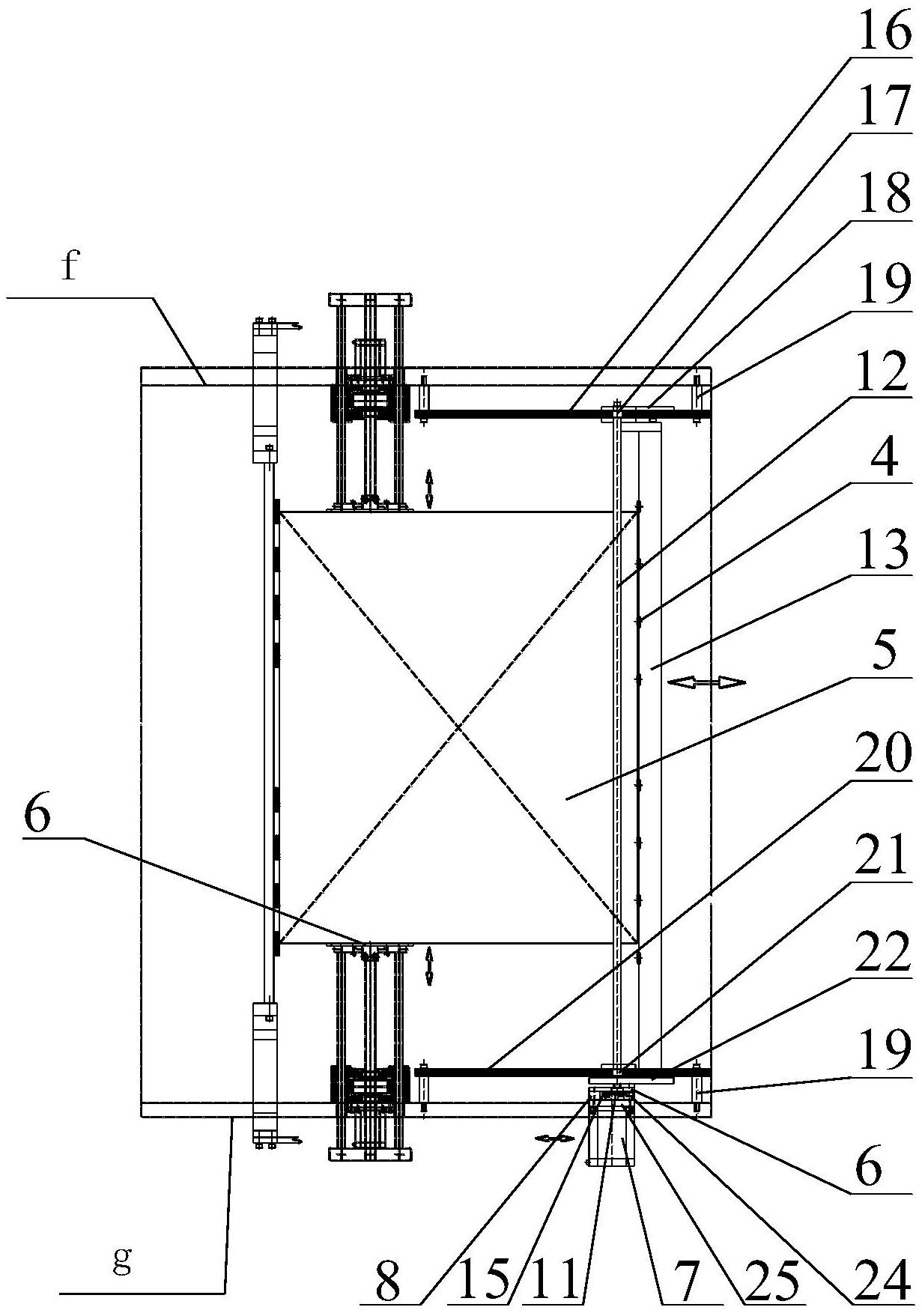
本实用新型公开了一种自动纸幅调节机构,包括:纸幅调节机构操作侧和传动侧小墙板之间安装有前齐纸板支撑杆和传动轴,前齐纸板支撑杆上安装有多个前齐纸板;传动轴上分别固定有传动侧和操作侧齿轮,传动侧和操作侧齿轮能在通过齿条固定桩头固定的操作侧和传动侧齿条上啮合滚动,操作侧小墙板外侧传动轴上固定从动链轮,操作侧小墙板外侧下部固定链轮安装板和驱动电机安装板;驱动电机固连有主动链轮,触发电路通过不同触发信号驱动电机能调整纸幅调节机构的前齐纸板的位置;与进纸方向相垂直安装有操作侧侧齐纸板和传动侧侧齐纸板,进纸方向上靠近收纸部套后侧安装后齐纸机构。本实用新型能根据预设调整参数实现自动调整。


