授权公布号:CN108557552B
一种在线零速打孔装置
有效
申请
2018-05-28
申请公布
2018-09-21
授权
2024-02-09
预估到期
2038-05-28
| 申请号 | CN201810519176.6 |
| 申请日 | 2018-05-28 |
| 申请公布号 | CN108557552A |
| 申请公布日 | 2018-09-21 |
| 授权公布号 | CN108557552B |
| 授权公告日 | 2024-02-09 |
| 分类号 | B65H35/06 |
| 分类 | 输送;包装;贮存;搬运薄的或细丝状材料; |
| 申请人名称 | 深圳市赢合科技股份有限公司 |
| 申请人地址 | 广东省深圳市光明区凤凰街道凤凰社区观光路招商局光明科技园A1A2栋A2栋1002A |
专利法律状态
2024-02-09
授权
状态信息
授权
2020-05-05
著录事项变更
状态信息
著录事项变更;IPC(主分类):B65H35/06;变更事项:申请人;变更前:深圳市赢合科技股份有限公司;变更后:深圳市赢合科技股份有限公司;变更事项:地址;变更前:518109 广东省深圳市龙华区龙华街道和平东路港之龙科技园科技孵化中心5楼E、I区;变更后:518107 广东省深圳市光明区凤凰街道凤凰社区观光路招商局光明科技园A1A2栋A2栋1002A
2019-10-25
实质审查的生效
状态信息
实质审查的生效;IPC(主分类):B65H35/06;申请日:20180528
2018-09-21
公布
状态信息
公布
摘要
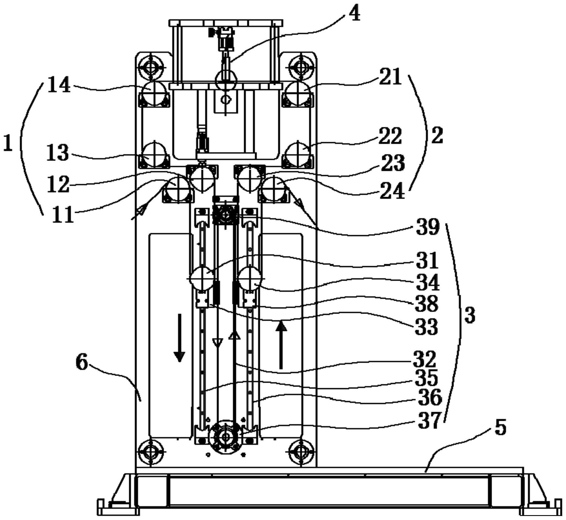
本发明公开了一种在线零速打孔装置。该在线零速打孔装置包括机座(5)和机体(6),所述机体(6)设置在机座(5)上;所述机体(6)包括进带侧固定过辊组(1)、出带侧固定过辊组(2)、浮动过辊组件(3)以及打孔组件(4)。本发明的在线零速打孔装置满足了在带材的整体进带速度不变的情况下,实现不停机且不影响带材的移动速度的局部零速打孔操作,提高了前后工序的串联性,使生产流水线更加自动化,提高生产效率。


