授权公布号:CN217858212U
一种极耳吹弯结构
有效
申请
2022-07-20
申请公布
1970-01-01
授权
2022-11-22
预估到期
2032-07-20
| 申请号 | CN202221864530.7 |
| 申请日 | 2022-07-20 |
| 授权公布号 | CN217858212U |
| 授权公告日 | 2022-11-22 |
| 分类号 | B21D11/10;B21D11/22;H01M10/0587 |
| 分类 | 基本上无切削的金属机械加工;金属冲压; |
| 申请人名称 | 深圳市赢合科技股份有限公司 |
| 申请人地址 | 广东省深圳市光明区玉塘街道田寮社区宝山路19号晔明模具工业园B栋202 |
专利法律状态
2022-11-22
授权
状态信息
授权
摘要
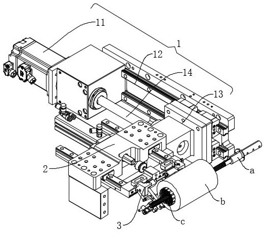
本实用新型涉及一种极耳吹弯结构,包括有吹弯组件、调节组件和伸缩组件,所述吹弯组件设置于所述伸缩组件的输出端,所述调节组件驱动带动所述伸缩组件移动,所述伸缩组件驱动所述吹弯组件向设置于卷针上的电芯靠近,且所述吹弯组件向电芯上的极耳吹气,以带动极耳向电芯的轴心弯折。上述极耳吹弯结构,在卷针卷绕电芯时,吹弯组件能够对极耳进行吹弯,使极耳能够规律交叠并朝向电芯的轴心,以便于后续的拍平工序,能够有效的改善极耳拍平时的平整性,提高电芯的品质,且在卷绕完成后,伸缩组件能够带动吹弯组件复位,避免干涉卷针卷绕电芯,并且可以通过调节组件对吹弯组件进行微调,保证吹弯组件能够对准电芯的轴心吹气。


