授权公布号:CN218274727U
一种圆柱激光卷绕机
有效
申请
2022-08-29
申请公布
1970-01-01
授权
2023-01-10
预估到期
2032-08-29
| 申请号 | CN202222285945.5 |
| 申请日 | 2022-08-29 |
| 授权公布号 | CN218274727U |
| 授权公告日 | 2023-01-10 |
| 分类号 | H01M10/0587;H01M10/04;H01M6/00;H01M50/531;H01M50/533;H01M4/139;H01M4/08;B23K26/38 |
| 分类 | 基本电气元件; |
| 申请人名称 | 深圳市赢合科技股份有限公司 |
| 申请人地址 | 广东省深圳市光明区玉塘街道田寮社区宝山路19号晔明模具工业园B栋202 |
专利法律状态
2023-01-10
授权
状态信息
授权
摘要
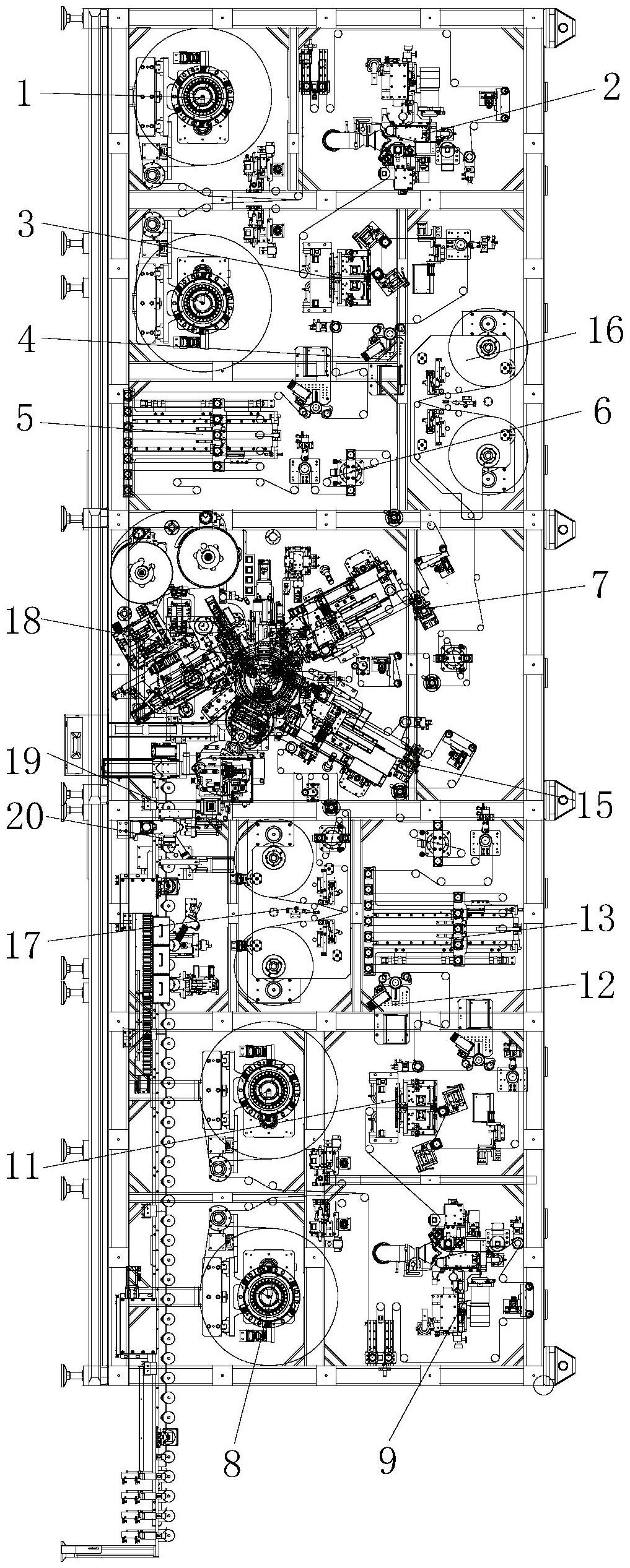
本实用新型涉及一种圆柱激光卷绕机,包括有料卷放卷机构、激光切割机构、除尘机构、检测机构、缓存机构、张力控制机构、预折机构、隔膜放卷机构、卷绕机构、拍平机构和下料机构,第一料卷和第二料卷通过料卷放卷机构放卷,并分别经过激光切割机构进行切割形成极耳,随后经过除尘机构对表面进行除尘,检测机构对第一料卷和第二料卷进行检测,随后依次传送至缓存机构和张力控制机构,并于预折机构对第一料卷和第二料卷进行预折极耳后传送至卷绕机构,隔膜放卷机构将两段隔膜放卷至卷绕机构,卷绕机构将第一料卷、第二料卷和两段隔膜卷绕形成电芯后,下料机构将电芯从卷绕机构下料,拍平机构将电芯的端部拍平。


