授权公布号:CN218267397U
一种对夹式止回阀及一种阀组
有效
申请
2021-12-31
申请公布
1970-01-01
授权
2023-01-10
预估到期
2031-12-31
| 申请号 | CN202123436303.2 |
| 申请日 | 2021-12-31 |
| 授权公布号 | CN218267397U |
| 授权公告日 | 2023-01-10 |
| 分类号 | F16K15/06 |
| 分类 | 工程元件或部件;为产生和保持机器或设备的有效运行的一般措施;一般绝热; |
| 申请人名称 | 威乐(中国)水泵系统有限公司 |
| 申请人地址 | 北京市顺义区兆丰二街10号院1幢1层103 |
专利法律状态
2023-01-10
授权
状态信息
授权
摘要
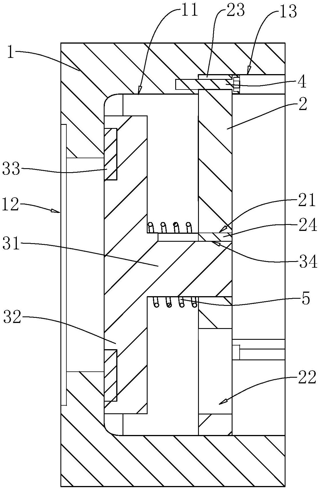
本申请涉及一种对夹式止回阀及一种阀组,属于阀门的领域,一种对夹式止回阀包括阀体、挡圈以及阀芯;其中,阀体上设置有凹槽,挡圈设置于凹槽内,且凹槽的槽底设置有进水孔,挡圈上设置有出水孔;阀芯包括滑动装配在挡圈上的导杆,以及与导杆连接并用于封堵进水孔的本体;在本体封堵进水孔时,第一距离大于等于第二距离;其中,第一距离为阀体远离进水孔的端面到导杆远离本体的端面之间的垂直距离,第二距离为本体与挡圈之间的垂直距离。一种阀组,包括对夹式止回阀和截止阀,截止阀位于阀体远离进水孔的一侧,对夹式止回阀与截止阀通过密封圈密封连接。本申请改善了导杆影响其它设备工作的问题。


