授权公布号:CN218530124U
新型沉淀仓式过滤器
有效
申请
2022-10-26
申请公布
1970-01-01
授权
2023-02-28
预估到期
2032-10-26
| 申请号 | CN202222819703.X |
| 申请日 | 2022-10-26 |
| 授权公布号 | CN218530124U |
| 授权公告日 | 2023-02-28 |
| 分类号 | B01D36/04;B01D35/16;B01D29/96 |
| 分类 | 一般的物理或化学的方法或装置; |
| 申请人名称 | 森森集团股份有限公司 |
| 申请人地址 | 浙江省舟山市马岙镇白马街61-79号 |
专利法律状态
2023-02-28
授权
状态信息
授权
摘要
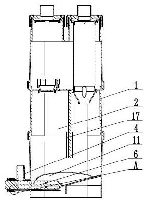
本实用新型提供了新型沉淀仓式过滤器,解决了粘附在沉淀仓底壁的颗粒物不容易被排出的问题。其特征在于:所述壳体的一侧设有安装管,所述安装管内安装有转轴,所述转轴上设有叶片,所述转轴的一端与集污槽配合,所述转轴的另一端设有手持部,所述手持部位于安装管的外部,所述转轴与安装管的内壁之间设有密封圈。当颗粒物粘附沉淀仓底部时,握住手持部转动转轴,叶片对颗粒物进行搅动使颗粒物漂浮起来,然后再通过排污管排出,可以有效的将粘附在沉淀仓底部颗粒物排出。


