授权公布号:CN211255045U
一种便于对板锤进行翻转的吊装装置
有效
申请
2019-10-22
申请公布
1970-01-01
授权
2020-08-14
预估到期
2029-10-22
| 申请号 | CN201921773698.5 |
| 申请日 | 2019-10-22 |
| 授权公布号 | CN211255045U |
| 授权公告日 | 2020-08-14 |
| 分类号 | B66C23/16 |
| 分类 | 卷扬;提升;牵引; |
| 申请人名称 | 福建南方路面机械有限公司 |
| 申请人地址 | 福建省泉州市丰泽区高新产业园体育街700号 |
专利法律状态
2020-09-11
专利权人的姓名或者名称、地址的变更
状态信息
专利权人的姓名或者名称、地址的变更;IPC(主分类):B66C 23/16;专利号:ZL2019217736985;变更事项:专利权人;变更前:福建南方路面机械有限公司;变更后:福建南方路面机械股份有限公司;变更事项:地址;变更前:362000 福建省泉州市丰泽区高新产业园体育街700号;变更后:362000 福建省泉州市丰泽区高新产业园体育街700号
2020-08-14
授权
状态信息
授权
摘要
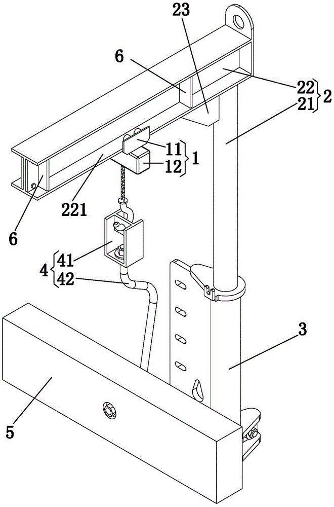
本实用新型涉及吊装装置技术领域,具体涉及一种便于对板锤进行翻转的吊装装置,其特征在于:包括提升组件、龙门支架和固定安装于反击破设备本体上的固定架,龙门支架可转动的设于固定架上,龙门支架上端设有轨道,提升组件设于龙门支架上并可沿着轨道水平往复移动,提升组件的起吊端可拆卸的连接有起吊件并带动起吊件沿竖直方向运动,起吊件包括连接架和吊杆,吊杆上端呈竖直设置并与连接架可转动的连接,吊杆下端呈水平设置并用于与板锤相连接且使板锤可在吊杆下端进行转动。本实用新型整体结构新颖、实用可靠,可轻松吊起板锤并使其脱离转子,便于板锤的更换,也可对板锤进行轴向及径向的翻转,从而方便实现板锤多个打击面之间的切换。


