授权公布号:CN211259214U
一种集成式液压供控单元
有效
申请
2019-11-04
申请公布
1970-01-01
授权
2020-08-14
预估到期
2029-11-04
| 申请号 | CN201921880146.4 |
| 申请日 | 2019-11-04 |
| 授权公布号 | CN211259214U |
| 授权公告日 | 2020-08-14 |
| 分类号 | F15B21/00 |
| 分类 | 流体压力执行机构;一般液压技术和气动技术; |
| 申请人名称 | 福建南方路面机械有限公司 |
| 申请人地址 | 福建省泉州市丰泽区高新产业园体育街700号 |
专利法律状态
2020-08-28
专利权人的姓名或者名称、地址的变更
状态信息
专利权人的姓名或者名称、地址的变更;IPC(主分类):F15B 21/00;专利号:ZL2019218801464;变更事项:专利权人;变更前:福建南方路面机械有限公司;变更后:福建南方路面机械股份有限公司;变更事项:地址;变更前:362000 福建省泉州市丰泽区高新产业园体育街700号;变更后:362000 福建省泉州市丰泽区高新产业园体育街700号
2020-08-14
授权
状态信息
授权
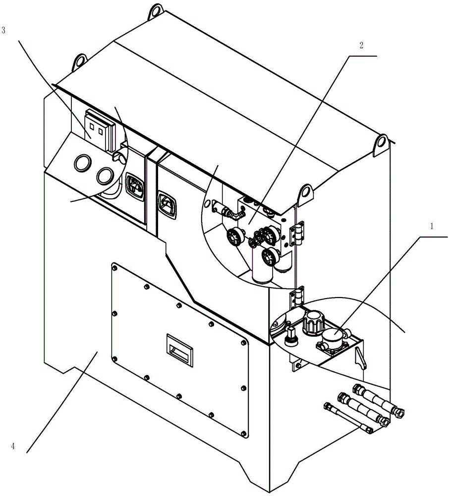
摘要
本实用新型涉及液压系统领域,具体涉及一种集成式液压供控单元,包括液压站、液压阀组、电控合件和集成柜。本实用新型是将液压站、液压阀组、电控合件集成在一个紧凑的集成柜里,在集成柜的四周加装可拆卸的防护板,且对经常需要人工操作的操控面板和液压阀组进行内嵌,外部安装防砸的可开启的防护罩,使液压、电气和控制面板高度集成并进行防护形成一个独立的供控单元。利用供控单元的集成性和独立性,可放置在远离物料散落或飞溅的区域,可避免液压供给和控制所使用的元器件难以防护易被损坏的风险。


