授权公布号:CN220562500U
一种平衡悬架、车底盘以及车辆
有效
申请
2023-08-18
申请公布
1970-01-01
授权
2024-03-08
预估到期
2033-08-18
| 申请号 | CN202322237223.7 |
| 申请日 | 2023-08-18 |
| 授权公布号 | CN220562500U |
| 授权公告日 | 2024-03-08 |
| 分类号 | B60G11/18 |
| 分类 | 一般车辆; |
| 申请人名称 | 北汽福田汽车股份有限公司 |
| 申请人地址 | 北京市昌平区沙河镇沙阳路老牛湾村北 |
专利法律状态
2024-03-08
授权
状态信息
授权
摘要
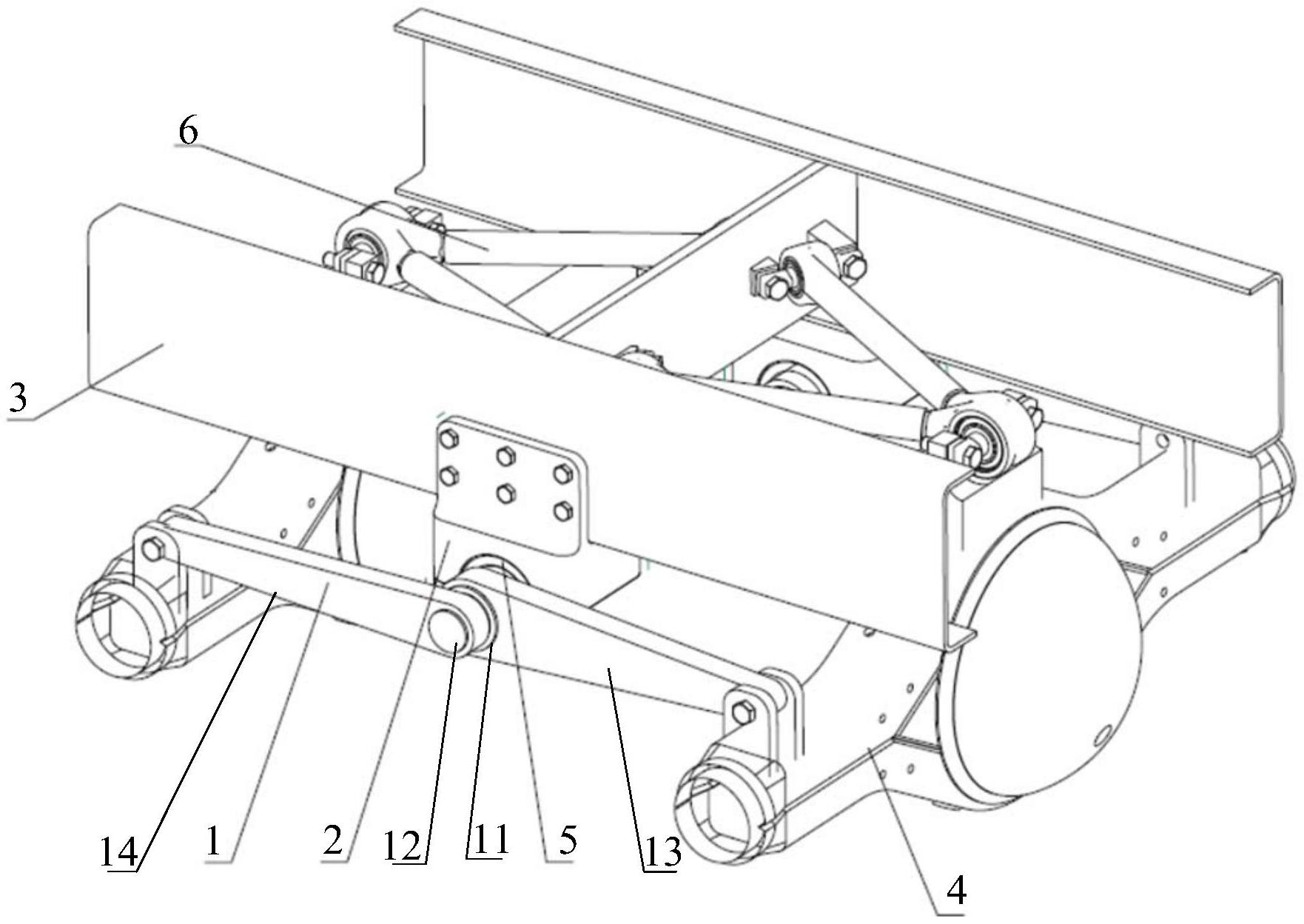
本实用新型提供了一种平衡悬架、车底盘以及车辆,涉及汽车技术领域,包括:扭杆弹簧、车架以及多个车桥;扭杆弹簧包括:第一扭杆、第二扭杆、第一导向臂以及第二导向臂;其中,第二扭杆位于第一扭杆内,第二扭杆的第一端与第一扭杆的第一端固定连接,第二扭杆的第二端延伸出第一扭杆的第二端外,并与第二导向臂的第一端固定连接;第一扭杆的第二端与第一导向臂的第一端固定连接;第一扭杆与车架连接;第一导向臂的第二端和第二导向臂的第二端分别与车桥连接。通过采用扭杆弹簧作为承载弹性的构件,通过扭杆弹簧将车架与车架连接,使得结构整体简单、重量轻,同时扭杆弹簧不易断裂,具有较好的承载减振效果,不仅降低了装配成本,还降低了维修成本。


