授权公布号:CN114056972B
一种提手纸箱坯糊盒成型的压送装置
有效
申请
2021-11-09
申请公布
2022-02-18
授权
2023-06-27
预估到期
2041-11-09
| 申请号 | CN202111319055.5 |
| 申请日 | 2021-11-09 |
| 申请公布号 | CN114056972A |
| 申请公布日 | 2022-02-18 |
| 授权公布号 | CN114056972B |
| 授权公告日 | 2023-06-27 |
| 分类号 | B65H5/02;B31B50/04;B65G45/12;B65G45/18;B65G45/24 |
| 分类 | 输送;包装;贮存;搬运薄的或细丝状材料; |
| 申请人名称 | 上海旭恒精工机械制造东台有限公司 |
| 申请人地址 | 江苏省盐城市东台市富安工业园 |
专利法律状态
2023-06-27
授权
状态信息
授权
2022-03-08
实质审查的生效
状态信息
实质审查的生效;IPC(主分类):B65H5/02;申请日:20211109
2022-02-18
公布
状态信息
公布
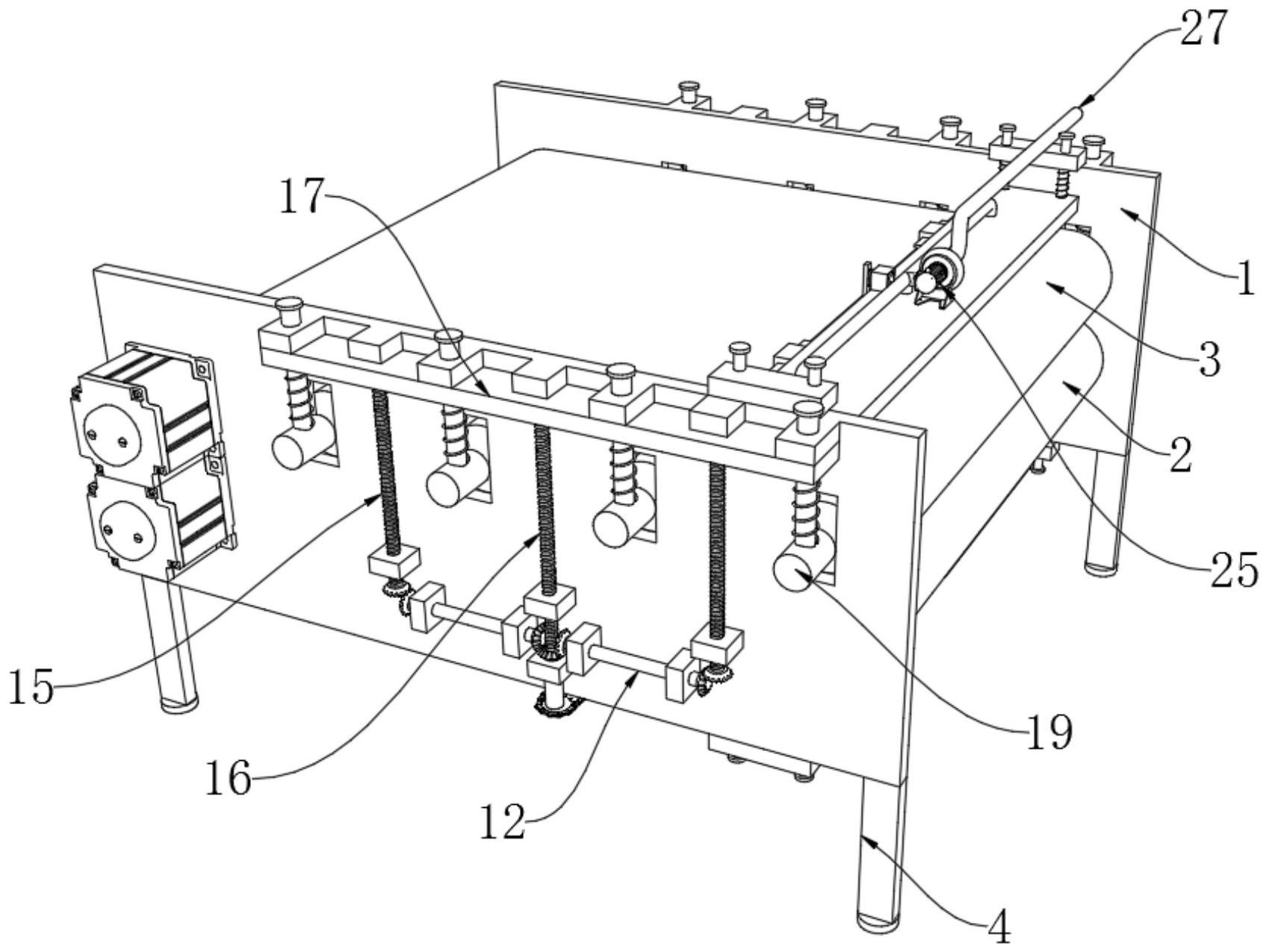
摘要
本发明涉及糊盒压送技术领域,尤其涉及一种提手纸箱坯糊盒成型的压送装置。一种提手纸箱坯糊盒成型的压送装置,包括矩形固定板、第一压送传输带和第二压送传输带,第一压送传输带安装在矩形固定板的内部,第二压送传输带安装在矩形固定板的内部,且第二压送传输带位于第一压送传输带的上部,第二压送传输带的内部设置有多个从动滚轴。本发明通过压力调节机构的结构设计,能有效的对压送装置的压力进行调整,进而能适应不同的提手纸箱坯,提升了适应性;通过清洁机构的结构设计,能有效的对传输带的表面进行清洁,避免了在压送提手纸箱坯时,对其表面造成污渍,保障了产品的美观,降低了成本。


