授权公布号:CN216186501U
一种包装机械用固定装置
有效
申请
2021-11-09
申请公布
1970-01-01
授权
2022-04-05
预估到期
2031-11-09
| 申请号 | CN202122726938.X |
| 申请日 | 2021-11-09 |
| 授权公布号 | CN216186501U |
| 授权公告日 | 2022-04-05 |
| 分类号 | B65B43/54 |
| 分类 | 输送;包装;贮存;搬运薄的或细丝状材料; |
| 申请人名称 | 上海旭恒精工机械制造东台有限公司 |
| 申请人地址 | 江苏省盐城市东台市富安工业园 |
专利法律状态
2022-04-05
授权
状态信息
授权
摘要
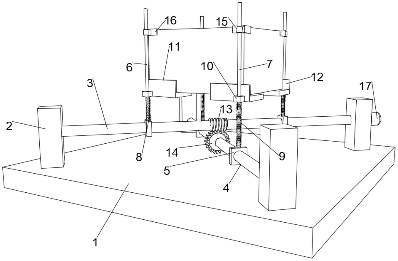
本实用新型公开了一种包装机械用固定装置,包括底板,四个支撑杆中对角线上的两个支撑杆之间分别转动连接有一号丝杆和二号丝杆,一号丝杆外表面设有螺旋纹,二号丝杆外表面固定连接有涡轮,两个滑块顶部分别固定连接有一号固定柱和二号固定柱,一号固定柱和二号固定柱外表面分别套设有一号弹簧和二号弹簧,两个一号固定柱和二号固定柱一侧分别设有一号承重板和二号承重板,两个一号固定柱和二号固定柱外表面均螺纹连接有连接环,连接环外表面通过圆环转动连接有卡块。该装置便于对箱体进行固定,固定效果更好,并且还能减小对箱体的损坏,还便于固定不同大小的箱体,可以根据实际情况调整固定位置大小和高度,实用性更强。


