授权公布号:CN206885646U
新型发动机运输架联动工装总成
有效
申请
2017-05-10
申请公布
1970-01-01
授权
2018-01-16
预估到期
2027-05-10
| 申请号 | CN201720517111.9 |
| 申请日 | 2017-05-10 |
| 授权公布号 | CN206885646U |
| 授权公告日 | 2018-01-16 |
| 分类号 | B65D25/10;B65D85/68 |
| 分类 | 输送;包装;贮存;搬运薄的或细丝状材料; |
| 申请人名称 | 重庆福伦德实业有限公司 |
| 申请人地址 | 重庆市南岸区迎春路6号 |
专利法律状态
2018-01-16
授权
状态信息
授权
摘要
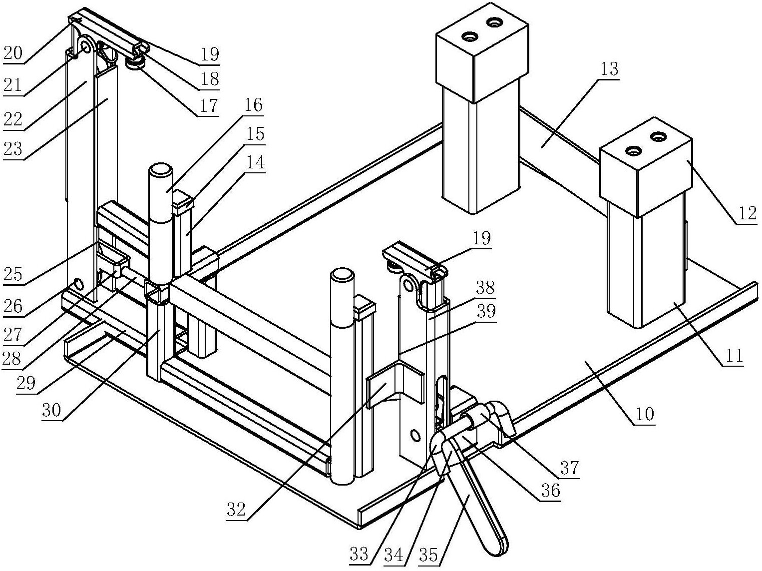
本实用新型公开了一种新型发动机运输架联动工装总成,其包括工装底板、设于该工装底板上的支撑柱总成、油底壳支撑总成,工装底板上还设置有与支撑柱总成相对应且分处于待运输发动机两侧的竖直高滑槽、竖直矮滑槽,在该竖直高滑槽、竖直矮滑槽顶部均铰链有翻转压板,该翻转压板上均设置有可将待运输发动机压紧定位于支撑柱总成上的压销,并在竖直高滑槽、竖直矮滑槽的槽内分别设置有与翻转压板组成杠杆机构的连接板,在竖直高滑槽、竖直矮滑槽下部槽内分别铰链有与连接板组成杠杆机构的联动座,两联动座通过连接杆固连,且在工装底板上设置有用于控制连接杆使得压销上下移动的手柄。该实用新型稳定可靠,且使用方便快捷。


