授权公布号:CN211733063U
一种发动机缸体跨线转运机构
有效
申请
2019-12-27
申请公布
1970-01-01
授权
2020-10-23
预估到期
2029-12-27
| 申请号 | CN201922402196.8 |
| 申请日 | 2019-12-27 |
| 授权公布号 | CN211733063U |
| 授权公告日 | 2020-10-23 |
| 分类号 | B65G47/90 |
| 分类 | 输送;包装;贮存;搬运薄的或细丝状材料; |
| 申请人名称 | 重庆福伦德实业有限公司 |
| 申请人地址 | 重庆市南岸区迎春路6号 |
专利法律状态
2020-10-23
授权
状态信息
授权
摘要
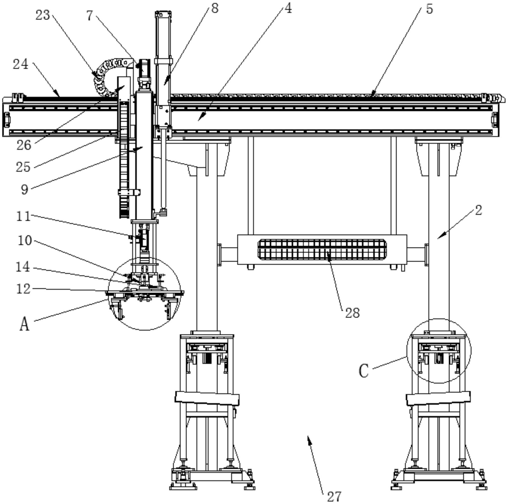
本实用新型涉及一种发动机缸体跨线转运机构,用于发动机缸体生产线跨线转运,包括缸体顶升定位机构,X向移动机构,Y向升降机构,R向旋转机构及机械手机构;缸体顶升定位机构设于生产线端部,后方设有立柱,立柱顶端设有横梁;X向移动机构包括设于横梁上的X向导轨及滑块,固定在滑块上的X向驱动电机;Y向升降机构包括固定在滑块上的Y向升降气缸,Y向升降轨道,Y向升降轨道可相对滑块升降;R向旋转机构包括设于Y向升降轨道底部的R轴及R轴伺服旋转电机;机械手机构包括固定设于R轴下端的固定板,以及两个可开合的机械手夹紧板。本实用新型结构简单,实现生产线之间跨线转运,安全可靠,精度高,有效提高生产效率,减轻工人劳动强度。


