授权公布号:CN207993141U
电子支付纸币一体机及自动售货机
失效
申请
2018-03-26
申请公布
1970-01-01
授权
2018-10-19
预估到期
2028-03-26
| 申请号 | CN201820412031.1 |
| 申请日 | 2018-03-26 |
| 授权公布号 | CN207993141U |
| 授权公告日 | 2018-10-19 |
| 分类号 | G07F11/72;G07D11/00;G06Q20/40 |
| 分类 | 核算装置; |
| 申请人名称 | 富士电机(中国)有限公司 |
| 申请人地址 | 上海市普陀区凯旋北路1188号环球港B座26楼 |
专利法律状态
2018-10-19
授权
状态信息
授权
摘要
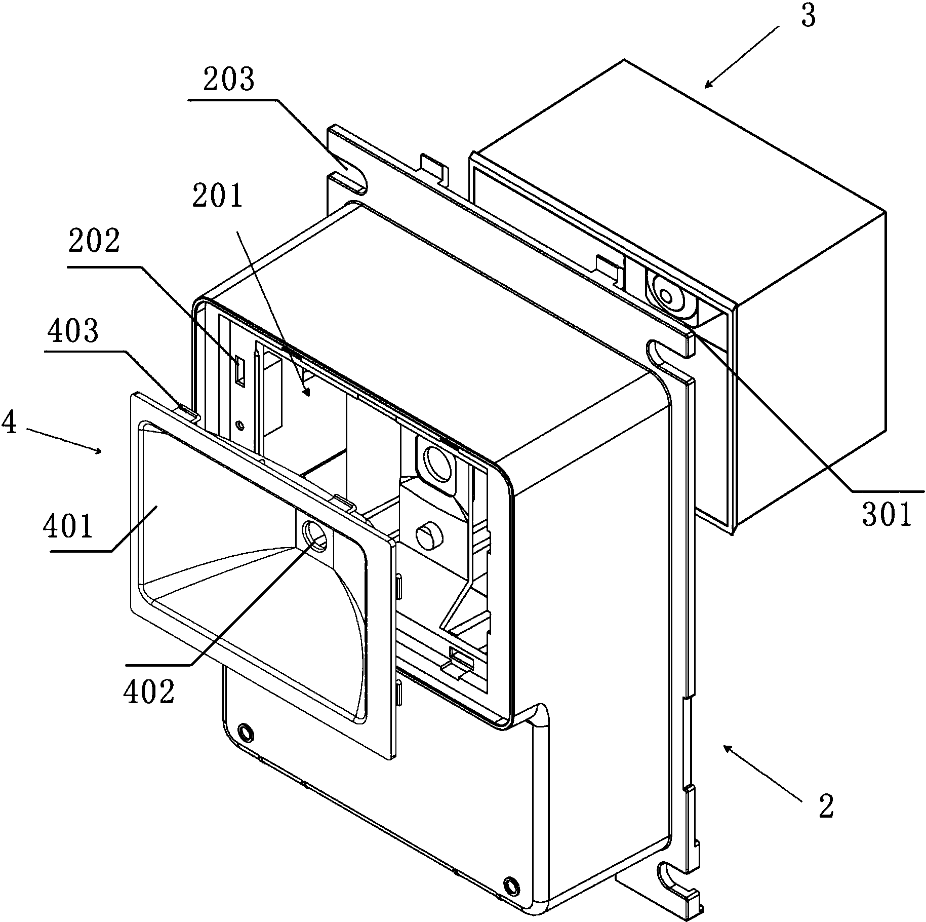
本实用新型公开了一种用于自动售货机的电子支付纸币一体机,包括用于收取现金的现金收取器以及用于电子支付的电子支付装置,所述现金收取器具有第一壳体,所述电子支付装置具有与所述第一壳体独立设置的第二壳体以及用于读取支付二维码且设置于所述第二壳体中的摄像装置,所述第二壳体设置在所述第一壳体中。该电子支付纸币一体机利用设置有摄像装置的壳体与现金收取器壳体的配合关系,可将摄像装置直接通过壳体与老款自动售货机的现金收取器迅速组装固定在一起,配合内部的程序模块实现了电子支付的功能,安装过程方便快速。在安装完成后,支付面板位置较为集中,方便顾客注意到并使用。


