授权公布号:CN209028177U
芯片单独寿命预测模块
有效
申请
2018-10-30
申请公布
1970-01-01
授权
2019-06-25
预估到期
2028-10-30
| 申请号 | CN201821778643.9 |
| 申请日 | 2018-10-30 |
| 授权公布号 | CN209028177U |
| 授权公告日 | 2019-06-25 |
| 分类号 | G01R31/28 |
| 分类 | 测量;测试; |
| 申请人名称 | 富士电机(中国)有限公司 |
| 申请人地址 | 上海市普陀区凯旋北路1188号环球港B座26楼 |
专利法律状态
2019-06-25
授权
状态信息
授权
摘要
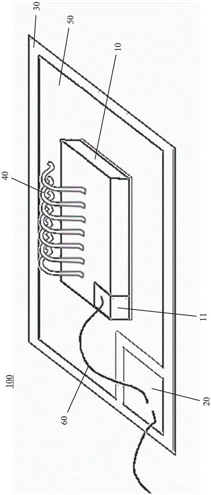
本实用新型提供一种芯片单独寿命预测模块,能够单独地预测芯片的寿命以决定是否更换,其包括:芯片(10),将该芯片的一部分区域作为检测区域(11);阻抗检测单元(21),通过绑定线(60)连接至检测区域(11),检测出检测区域(11)的阻抗作为芯片(10)的阻抗;以及判断单元(22),根据阻抗检测单元(21)检测到的芯片(10)的阻抗,来判断芯片(10)的劣化是否超过预先设定的阈值,从而决定是否需要更换。


