授权公布号:CN216921964U
一种新型汽车坡道防汛挡板
有效
申请
2021-11-19
申请公布
1970-01-01
授权
2022-07-08
预估到期
2031-11-19
| 申请号 | CN202122894039.0 |
| 申请日 | 2021-11-19 |
| 授权公布号 | CN216921964U |
| 授权公告日 | 2022-07-08 |
| 分类号 | E06B9/00;E02B3/10;B01D29/01 |
| 分类 | 一般门、窗、百叶窗或卷辊遮帘;梯子; |
| 申请人名称 | 大连万达集团股份有限公司 |
| 申请人地址 | 北京市密云区鼓楼东大街3号山水大厦3层313室-3873(集群注册) |
专利法律状态
2023-04-18
专利申请权、专利权的转移
状态信息
专利权的转移;IPC(主分类):E06B9/00;专利号:ZL2021228940390;登记生效日:20230407;变更事项:专利权人;变更前权利人:大连万达集团股份有限公司;变更后权利人:北京惠达万安智慧城市科技有限公司;变更事项:地址;变更前权利人:116019 辽宁省大连市西岗区长江路539号;变更后权利人:101599 北京市密云区鼓楼东大街3号山水大厦3层313室.3873(集群注册)
2022-07-08
授权
状态信息
授权
摘要
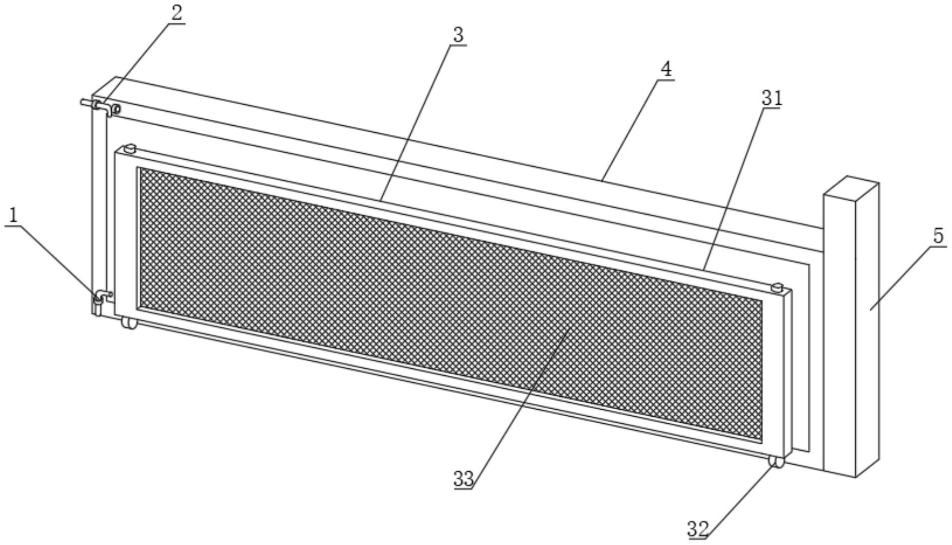
本实用新型公开一种新型汽车坡道防汛挡板,包括防汛板和安装架,所述安装架的一端铰接有防汛板,所述防汛板的一端设置有用于过滤杂质的排水过滤机构,本实用新型采用安装在防汛板上的排水过滤机构,当出现积水需要打开防汛板阻隔积水进入地下室时,能够将排水过滤机构的固定架从防汛板上取下,倾斜遮盖在防汛板前侧的地下室入口处的下水口上,由于防汛板的存在会堆积大量的积水,掺杂着生活垃圾很容易对下水口造成堵塞,而本新型通过固定架前侧的过滤网能够对下水口起到很好的过滤作用,且过滤网整体的高度较高,在积水时也能够很方便地清理过滤网表面的垃圾,使得下水口排水效果更好。


