授权公布号:CN215034662U
一种具有防倾倒功能的焊机
有效
申请
2021-03-29
申请公布
1970-01-01
授权
2021-12-07
预估到期
2031-03-29
| 申请号 | CN202120636738.2 |
| 申请日 | 2021-03-29 |
| 授权公布号 | CN215034662U |
| 授权公告日 | 2021-12-07 |
| 分类号 | B23K37/00 |
| 分类 | 机床;不包含在其他类目中的金属加工; |
| 申请人名称 | 上海威特力焊接设备制造股份有限公司 |
| 申请人地址 | 上海市浦东新区莲林路33号 |
专利法律状态
2021-12-07
授权
状态信息
授权
摘要
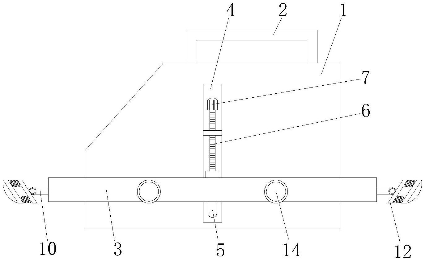
本实用新型涉及焊机技术领域,且公开了一种具有防倾倒功能的焊机,包括机体,所述机体的外侧设置有稳定环形管,所述机体的正面和背面均开设有位于稳定环形管内侧的矩形槽,所述稳定环形管的底部通过两个滑动杆分别滑动连接在两个矩形槽的内表面上,正面所述矩形槽的内表面通过固定板螺纹连接有调整螺杆。本实用新型通过施力旋钮控制调整螺杆进行转动,调整螺杆的转动达到有效调整稳定环形管高度的作用,通过传动半球起到在焊机侧面受力倾倒时,传动半球向倾倒方向移动的作用,进而通过传动半球朝倾倒方向移动达到利用支撑杆和稳固板对倾倒方向进行支撑的效果,从而达到避免倾倒保证焊机使用稳定性的效果。


