授权公布号:CN105665894B
一种适用于窄间隙焊接的自动排焊道装置
有效
申请
2016-04-19
申请公布
2016-06-15
授权
2018-05-04
预估到期
2036-04-19
| 申请号 | CN201610244260.2 |
| 申请日 | 2016-04-19 |
| 申请公布号 | CN105665894A |
| 申请公布日 | 2016-06-15 |
| 授权公布号 | CN105665894B |
| 授权公告日 | 2018-05-04 |
| 分类号 | B23K9/173;B23K9/28 |
| 分类 | 机床;不包含在其他类目中的金属加工; |
| 申请人名称 | 北京时代科技股份有限公司 |
| 申请人地址 | 北京市海淀区上地信息产业基地开拓路17号 |
专利法律状态
2018-05-04
授权
状态信息
授权
2016-07-13
实质审查的生效
状态信息
实质审查的生效IPC(主分类):B23K 9/173申请日:20160419
2016-06-15
公布
状态信息
公开
摘要
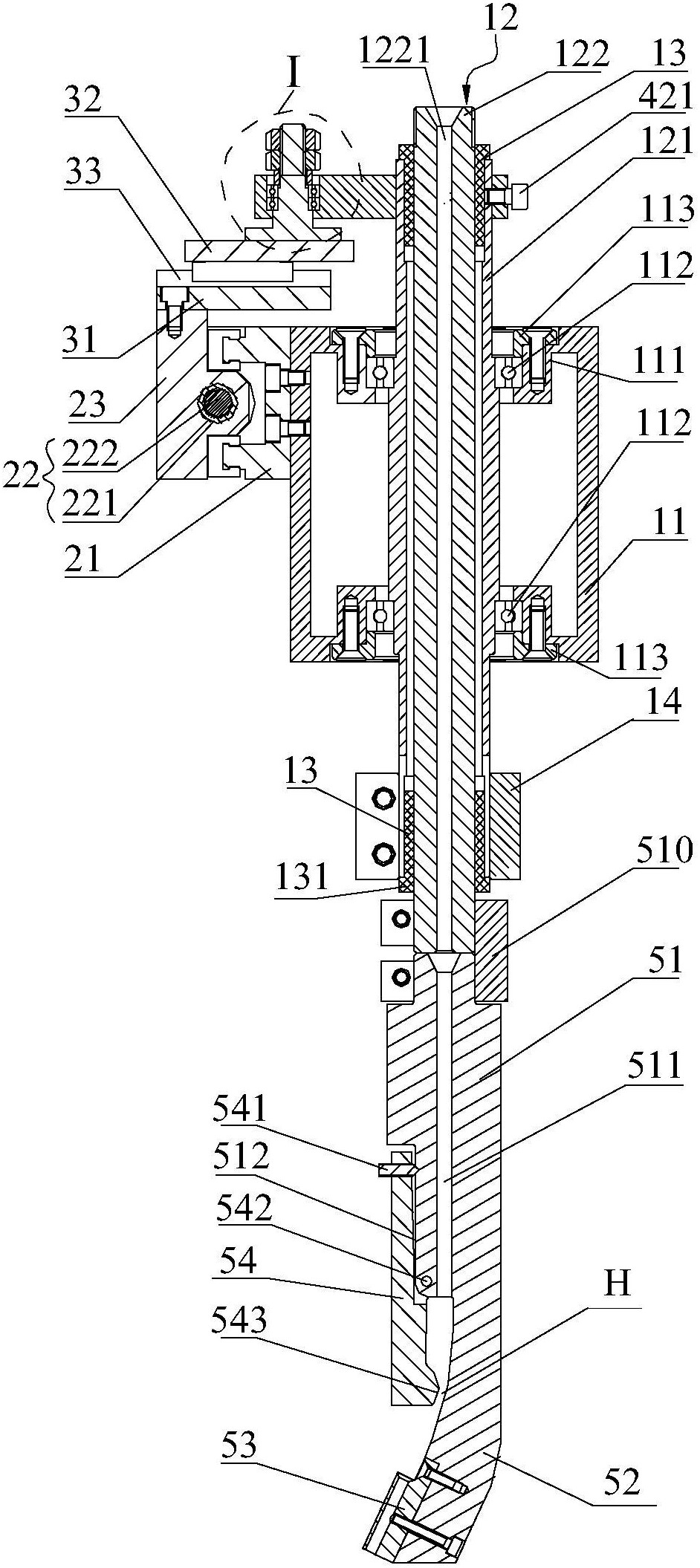
本发明提出一种适用于窄间隙焊接的自动排焊道装置,包括:枪角转动装置,其设有箱体及转动杆件,转动杆件能转动的穿设于箱体,其下端与焊枪相连接;横向运动机构,其通过横向滑座固定于箱体的外侧,横向滑座的两端之间安装有沿横向水平放置的滚珠丝杆,滚珠丝杆的螺母座上安装有横向滑台,其一端与安装在横向滑座一端的数字电机的输出轴相连接;纵向随动机构,包括有纵向滑座、纵向滑台及纵向导轨,纵向滑座固定于横向滑台的上端面,纵向导轨安装于纵向滑座上,纵向滑台能沿纵向水平移动的连接于纵向导轨上;摇杆机构,其设有摇杆支柱以及摇杆,摇杆支柱设置于纵向滑台上,摇杆的一端能转动的套设于摇杆支柱上,其另一端与转动杆件的上端相连接。


