授权公布号:CN207278676U
电焊机机壳塑料件连接用螺母结构
有效
申请
2017-09-28
申请公布
1970-01-01
授权
2018-04-27
预估到期
2027-09-28
| 申请号 | CN201721263029.4 |
| 申请日 | 2017-09-28 |
| 授权公布号 | CN207278676U |
| 授权公告日 | 2018-04-27 |
| 分类号 | F16B37/00;F16B39/24 |
| 分类 | 工程元件或部件;为产生和保持机器或设备的有效运行的一般措施;一般绝热; |
| 申请人名称 | 北京时代科技股份有限公司 |
| 申请人地址 | 北京市海淀区上地信息产业基地开拓路17号 |
专利法律状态
2018-04-27
授权
状态信息
授权
摘要
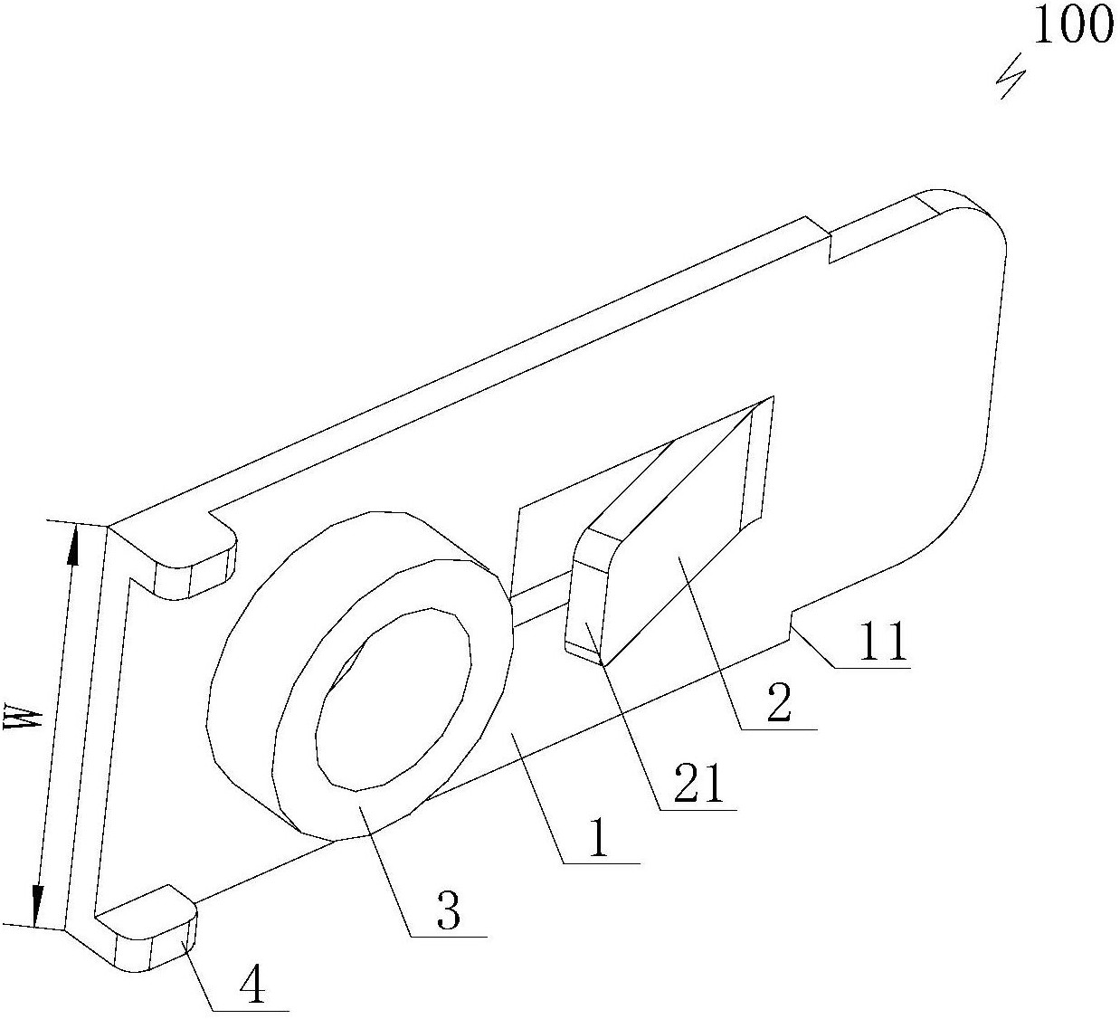
本实用新型为一种电焊机机壳塑料件连接用螺母结构;电焊机机壳塑料件连接用螺母结构能拆卸地穿设于电焊机机壳安装槽内,电焊机机壳塑料件连接用螺母结构包括主板,主板的一侧面上设置舌形弹簧片,舌形弹簧片的翘起端能沿主板的厚度方向摆动;主板的一侧面上沿主板的厚度方向设置有连接凸起部,连接凸起部上设置贯通的螺纹孔,连接凸起部和舌形弹簧片位于主板的同一侧、且相互间隔设置。该电焊机机壳塑料件连接用螺母结构,克服现有技术中存在的不易拆装、易脱落、机壳塑料件易断裂、模具成本高等问题,实现均匀受力,减少机壳塑料件断裂等破损,提高使用可靠性,拆装便捷,降低成本。


