授权公布号:CN102288314B
柱形温度检测装置固定片
有效
申请
2011-08-15
申请公布
2011-12-21
授权
2013-03-27
预估到期
2031-08-15
| 申请号 | CN201110233292.X |
| 申请日 | 2011-08-15 |
| 申请公布号 | CN102288314A |
| 申请公布日 | 2011-12-21 |
| 授权公布号 | CN102288314B |
| 授权公告日 | 2013-03-27 |
| 分类号 | G01K1/14 |
| 分类 | 测量;测试; |
| 申请人名称 | 北京时代科技股份有限公司 |
| 申请人地址 | 北京市海淀区上地信息产业基地开拓路17号 |
专利法律状态
2021-12-17
专利权质押合同登记的生效、变更及注销
状态信息
专利权质押合同登记的生效;IPC(主分类):G01K1/14;登记号:Y2021980013761;登记生效日:20211201;出质人:北京时代科技股份有限公司;质权人:中关村科技租赁股份有限公司;发明名称:柱形温度检测装置固定片;申请日:20110815;授权公告日:20130327
2013-03-27
授权
状态信息
授权
2012-02-08
实质审查的生效
状态信息
实质审查的生效;IPC(主分类):G01K1/14;申请日:20110815
2011-12-21
公布
状态信息
公布
摘要
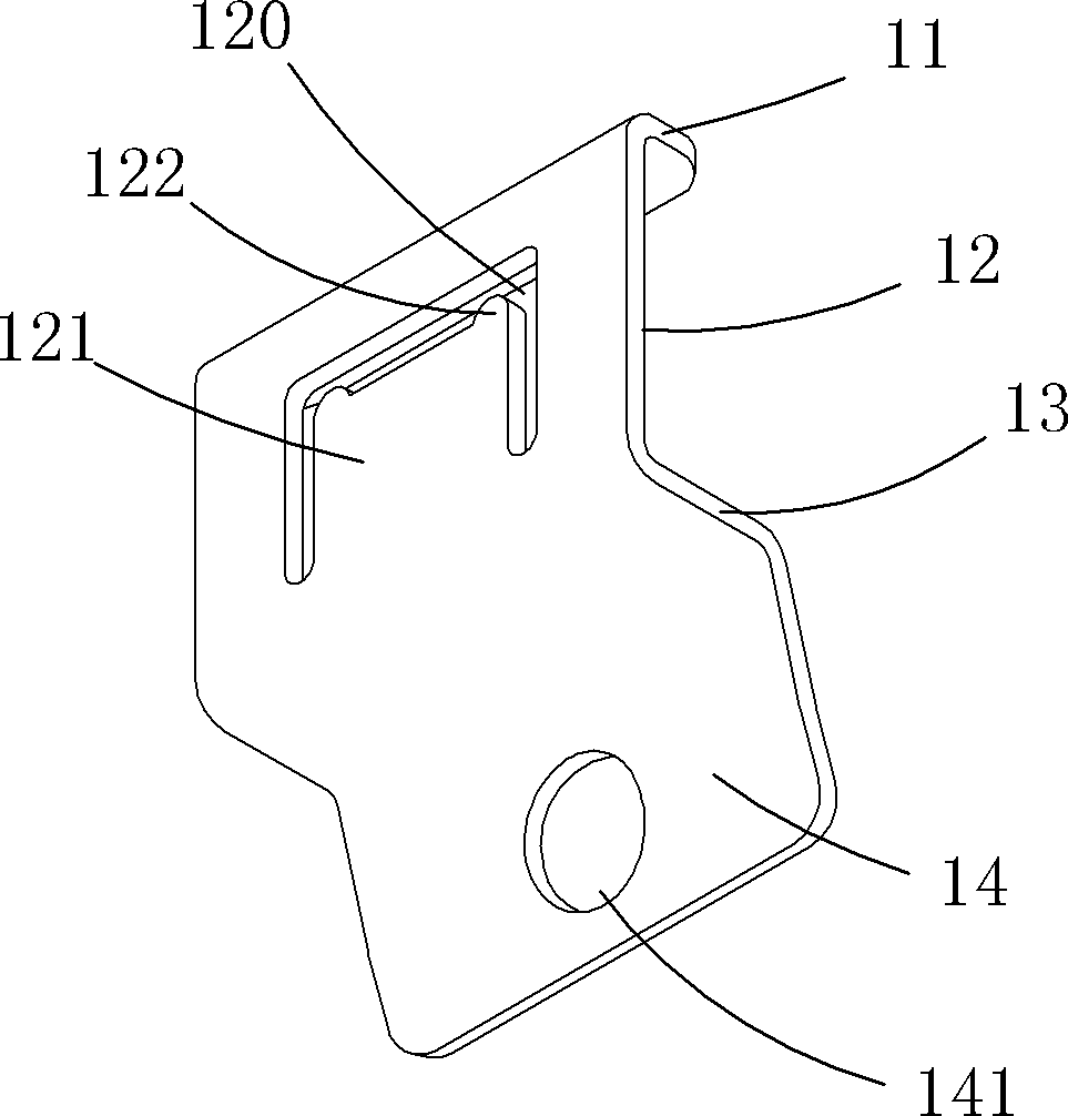
一种柱形温度检测装置固定片,所述固定片是由一弹性钢片形成的三级弹簧固定结构,所述弹性钢片弯折形成有一横截面呈凹状的压接本体及一固定部,其中:所述压接本体与该柱形温度检测装置的外形相配,该压接本体包括依次连接的第一侧接部、相对侧的第二侧接部及连接二者的平接部,构成第一级弹簧;该固定部是沿该压接本体的第二侧接部弯折而向外侧延伸的片体,构成第二级弹簧,且所述固定部设有供螺钉穿设的固定孔;所述平接部上切开形成的片状抵接舌,该抵接舌的自由端朝向所述第一侧接部,其根部靠近该第二侧接部设置,该抵接舌与所述第二侧接部组合构成第三级弹簧。本发明安装简单、固定可靠,能保证继电器与散热器接触良好,而且成本低,安装占用空间小。


