授权公布号:CN211209158U
线扣
有效
申请
2019-12-30
申请公布
1970-01-01
授权
2020-08-07
预估到期
2029-12-30
| 申请号 | CN201922435254.7 |
| 申请日 | 2019-12-30 |
| 授权公布号 | CN211209158U |
| 授权公告日 | 2020-08-07 |
| 分类号 | H02G3/02 |
| 分类 | 发电、变电或配电; |
| 申请人名称 | 上海通用重工集团有限公司 |
| 申请人地址 | 上海市浦东新区申江南路3888号 |
专利法律状态
2020-08-07
授权
状态信息
授权
摘要
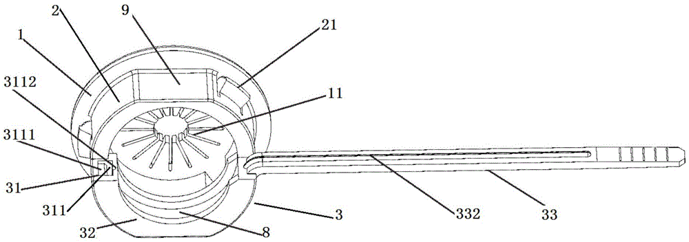
本实用新型公开了一种线扣,其包括底板、护管及绑带;底板为圆环形;护管的外径小于底板的外径,护管的内径小于底板的内径;护管下端同轴固定到底板的上侧面;绑带包括依次连接的头部、颈部、尾部;绑带颈部为圆弧形;绑带颈部弧度适配平滑固定连接到护管壁上端;绑带尾部为柔性材质,外侧面形成有一排竖向的齿条;绑带头部形成有绑带卡槽;绑带卡槽外侧形成有绑带卡扣。本实用新型的线扣,可适应大范围的线径规格,并且结构简单,成本低廉。


