授权公布号:CN216190707U
一种用于PCB插架的电动升降式投料装置
有效
申请
2021-10-15
申请公布
1970-01-01
授权
2022-04-05
预估到期
2031-10-15
| 申请号 | CN202122489996.5 |
| 申请日 | 2021-10-15 |
| 授权公布号 | CN216190707U |
| 授权公告日 | 2022-04-05 |
| 分类号 | B66F7/02;B66F7/28 |
| 分类 | 卷扬;提升;牵引; |
| 申请人名称 | 汕头超声印制板公司 |
| 申请人地址 | 广东省汕头市东厦路北段 |
专利法律状态
2022-04-05
授权
状态信息
授权
摘要
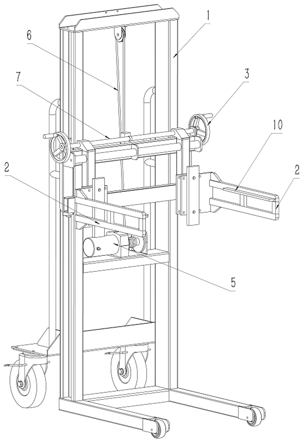
本实用新型提供了一种用于PCB插架的电动升降式投料装置,属于多层PCB板制造技术领域,包括支架、夹持手臂、第一驱动部以及第二驱动部,所述夹持手臂设有两组,两组所述夹持手臂相对分布,且两组所述夹持手臂均活动安装在所述支架一侧,所述第一驱动部用于带动两组所述夹持手臂相向或反向移动。本实用新型实施例具有结构及操作简单,机动性高的优点,对于已经固化的流水线的单一性缺点起到了有效的补充作用,同时,可实现PCB板材在狭小空间内的顺利投放,可降低人工劳动强度,提升人工效率,对于流水线的整体利用率的提高有较大的贡献,另外,本装置还具有低成本以及高收益的特点,提升了企业产品的质量、提升了企业的竞争力。


