授权公布号:CN209836344U
操作简便的PCB电镀上板装置
有效
申请
2019-01-22
申请公布
1970-01-01
授权
2019-12-24
预估到期
2029-01-22
| 申请号 | CN201920111459.7 |
| 申请日 | 2019-01-22 |
| 授权公布号 | CN209836344U |
| 授权公告日 | 2019-12-24 |
| 分类号 | C25D17/00 |
| 分类 | 电解或电泳工艺;其所用设备〔4〕; |
| 申请人名称 | 东莞美维电路有限公司 |
| 申请人地址 | 广东省东莞市东城区外经工业园区 |
专利法律状态
2019-12-24
授权
状态信息
授权
摘要
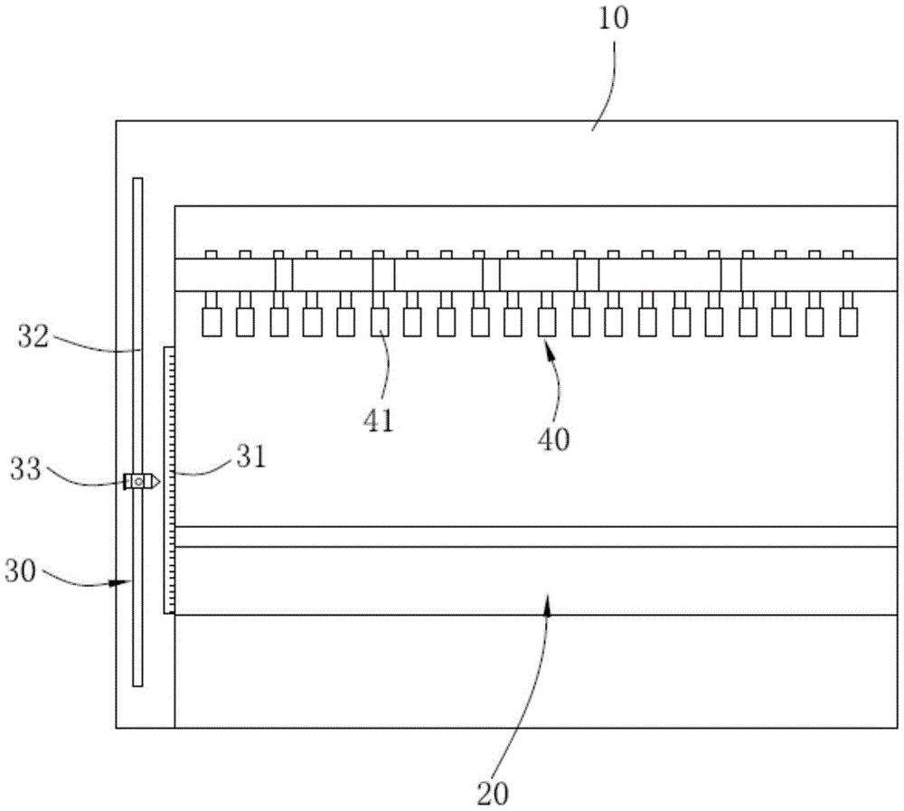
一种操作简便的PCB电镀上板装置,其包括机架、上板平台、尺码调节装置、夹料装置及升降装置,所述尺码调节装置设置于机架上,所述上板平台设置于机架内,所述夹料装置设置于上板平台上方的机架内,所述升降装置设置于上板平台下方;尺码调节装置包括刻度尺、设于刻度尺外侧的调节杆、设于调节杆上的标杆及设置于标杆上的感应器;升降装置上还设置有一传感器,传感器接收感应器发出的位置信号并对上板平台的位置进行自动调节。本实用新型通过在上板装置的自动模式下增加手动调位模式,大大减少了电镀换板进行上板平台高度调节的步骤,不仅降低了出错率、节省了调节时间,且增加了调位的精确度,降低了掉板风险,实用性强,具有较强的推广意义。


