授权公布号:CN211537635U
一种自动配药装置
有效
申请
2019-07-02
申请公布
1970-01-01
授权
2020-09-22
预估到期
2029-07-02
| 申请号 | CN201921016278.2 |
| 申请日 | 2019-07-02 |
| 授权公布号 | CN211537635U |
| 授权公告日 | 2020-09-22 |
| 分类号 | B01F15/02;B01F15/04 |
| 分类 | 一般的物理或化学的方法或装置; |
| 申请人名称 | 东莞美维电路有限公司 |
| 申请人地址 | 广东省东莞市东城区外经工业园区 |
专利法律状态
2020-09-22
授权
状态信息
授权
摘要
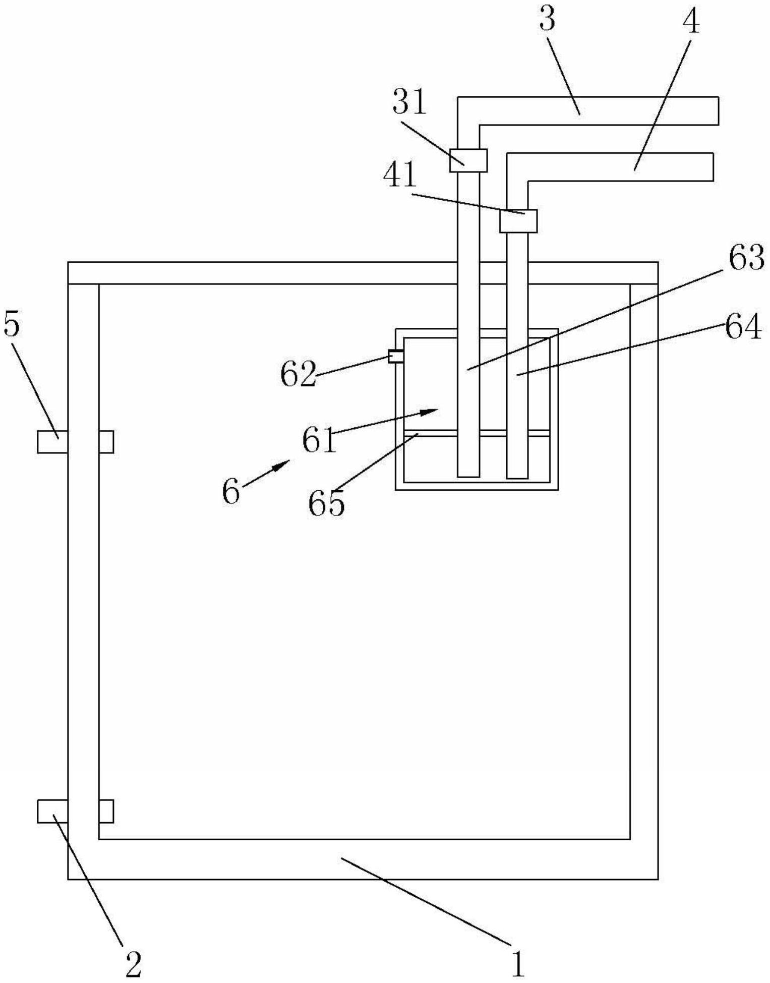
本实用新型涉及配药装置技术领域,尤其涉及一种自动配药装置。本实用新型的一种自动配药装置,包括药液容器,还包括导电率传感器、加药管道、加水管道、液位报警器、加药电磁阀、加水电磁阀及控制器;加药电磁阀、加水电磁阀分别设置于加药管道、加水管道,加药管道、加水管道均与药液容器的上端部导通,导电率传感器设置于药液容器的内壁,液位报警器设置于药液容器的内壁且位于药液容器的上端部;导电率传感器、液位报警器、加药电磁阀、加水电磁阀均与控制器电连接。本实用新型的一种自动配药装置,配置出的药液可保持药液的浓度在合理范围内。


