授权公布号:CN217591190U
一种对位防反PCB
有效
申请
2022-03-28
申请公布
1970-01-01
授权
2022-10-14
预估到期
2032-03-28
| 申请号 | CN202220700241.7 |
| 申请日 | 2022-03-28 |
| 授权公布号 | CN217591190U |
| 授权公告日 | 2022-10-14 |
| 分类号 | H05K1/02 |
| 分类 | 其他类目不包含的电技术; |
| 申请人名称 | 东莞美维电路有限公司 |
| 申请人地址 | 广东省东莞市东城区外经工业园区 |
专利法律状态
2022-10-14
授权
状态信息
授权
摘要
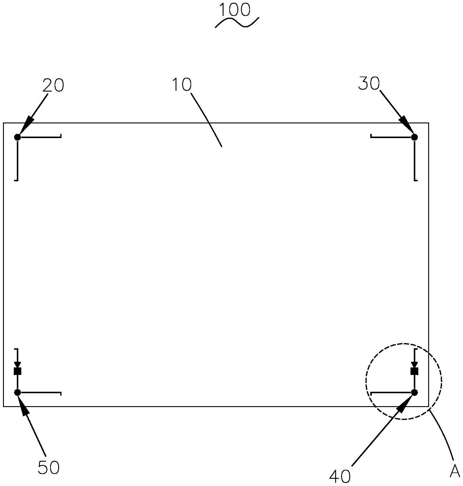
一种对位防反PCB,包括主体部及设置于主体部外表面上的对位标靶组,所述对位标靶组包括A标靶、B标靶、C标靶及D标靶;所述A标靶、B标靶、C标靶及D标靶分别设于主体部的四转角处,且A标靶与D标靶呈对角设置、B标靶与C标靶呈对角设置;其中所述A标靶与B标靶呈左右对称设计,其均包括对位靶心及分布于对位靶心外围且互相垂直的两条准星线;所述C标靶与D标靶呈左右对称设计,其均包括对位靶心、分布于对位靶心外围且互相垂直的两条准星线及防呆标靶。本实用新型通过设计带有防呆标靶的PCB,进而利用防呆标靶指示PCB的摆放方向,使PCB具备对位防反的能力,极大地避免了因PCB放反而发生漏检的问题;本实用新型实用性强,具有较强的推广意义。


