授权公布号:CN114666968B
电路散热模块及电路板结构
有效
申请
2020-12-23
申请公布
2022-06-24
授权
2023-09-01
预估到期
2040-12-23
| 申请号 | CN202011535186.2 |
| 申请日 | 2020-12-23 |
| 申请公布号 | CN114666968A |
| 申请公布日 | 2022-06-24 |
| 授权公布号 | CN114666968B |
| 授权公告日 | 2023-09-01 |
| 分类号 | H05K1/02 |
| 分类 | 其他类目不包含的电技术; |
| 申请人名称 | 健鼎(无锡)电子有限公司 |
| 申请人地址 | 江苏省无锡市锡山经济开发区团结中路6号 |
专利法律状态
2023-09-01
授权
状态信息
授权
2022-06-24
公布
状态信息
公布
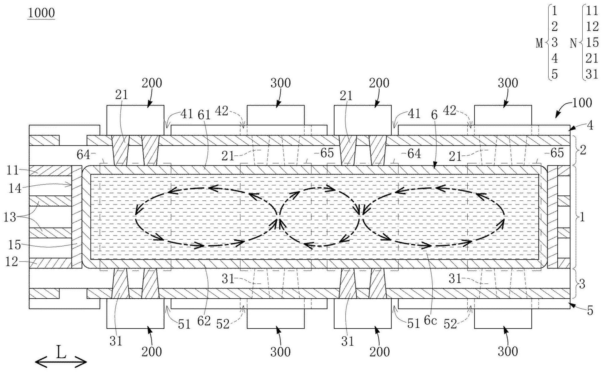
摘要
本发明公开一种电路散热模块及电路板结构。所述电路板结构包含一主板体及埋置于所述主板体内的一热管。所述主板体包含连接所述热管的一导热线路网、并形成位置对应于所述导热线路网的多个散热孔及多个吸热孔。所述热管呈长形且其内设有一导热流体。对应于多个所述散热孔与多个所述吸热孔的所述导热线路网的部位分别连接于所述热管的多个散热区与多个吸热区,其于所述热管的长度方向上分别位于不同的位置。至少一个所述吸热区所吸收的热能用来通过所述导热线路网的传输,使所述导热流体形成两个热循环,进而于两个所述散热孔进行散热。


