授权公布号:CN114666969B
电路板结构及其制造方法
有效
申请
2020-12-23
申请公布
2022-06-24
授权
2024-03-01
预估到期
2040-12-23
| 申请号 | CN202011538815.7 |
| 申请日 | 2020-12-23 |
| 申请公布号 | CN114666969A |
| 申请公布日 | 2022-06-24 |
| 授权公布号 | CN114666969B |
| 授权公告日 | 2024-03-01 |
| 分类号 | H05K1/02;H05K3/22;H05K3/46 |
| 分类 | 其他类目不包含的电技术; |
| 申请人名称 | 健鼎(无锡)电子有限公司 |
| 申请人地址 | 江苏省无锡市锡山经济开发区团结中路6号 |
专利法律状态
2024-03-01
授权
状态信息
授权
2022-09-23
实质审查的生效
状态信息
实质审查的生效;IPC(主分类):H05K1/02;申请日:20201223
2022-06-24
公布
状态信息
公布
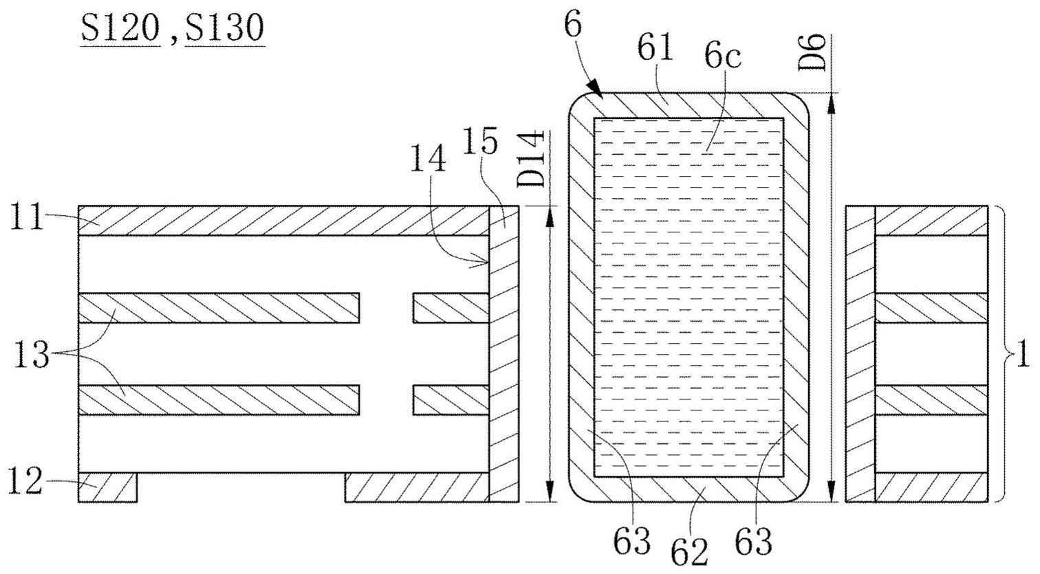
摘要
本发明公开一种电路板结构及其制造方法,所述电路板结构的制造方法包含:在一线路基板形成有贯穿状的一槽孔,并于所述槽孔的孔壁上形成有一导电连接层;挑选内部设有导热流体的一热管;其中,所述热管的一外径大于所述槽孔的孔深;将所述热管置于所述线路基板的所述槽孔内,并使所述热管的局部突伸出所述槽孔;挤压所述热管,以使所述热管变形而抵接于所述导电连接层、并使所述热管完全位于所述槽孔之内;及在所述线路基板与所述热管的一侧形成有一第一增设层,并在所述线路基板与所述热管的另一侧形成有一第二增设层。


