授权公布号:CN112867258B
可挠性电路板的制作方法
有效
申请
2016-12-27
申请公布
2021-05-28
授权
2024-03-19
预估到期
2036-12-27
| 申请号 | CN202110016697.1 |
| 申请日 | 2016-12-27 |
| 申请公布号 | CN112867258A |
| 申请公布日 | 2021-05-28 |
| 授权公布号 | CN112867258B |
| 授权公告日 | 2024-03-19 |
| 分类号 | H05K3/00 |
| 分类 | 其他类目不包含的电技术; |
| 申请人名称 | 健鼎(无锡)电子有限公司 |
| 申请人地址 | 江苏省无锡市锡山经济开发区团结中路6号 |
专利法律状态
2024-03-19
授权
状态信息
授权
2021-06-15
实质审查的生效
状态信息
实质审查的生效;IPC(主分类):H05K3/00;申请日:20161227
2021-05-28
公布
状态信息
公布
摘要
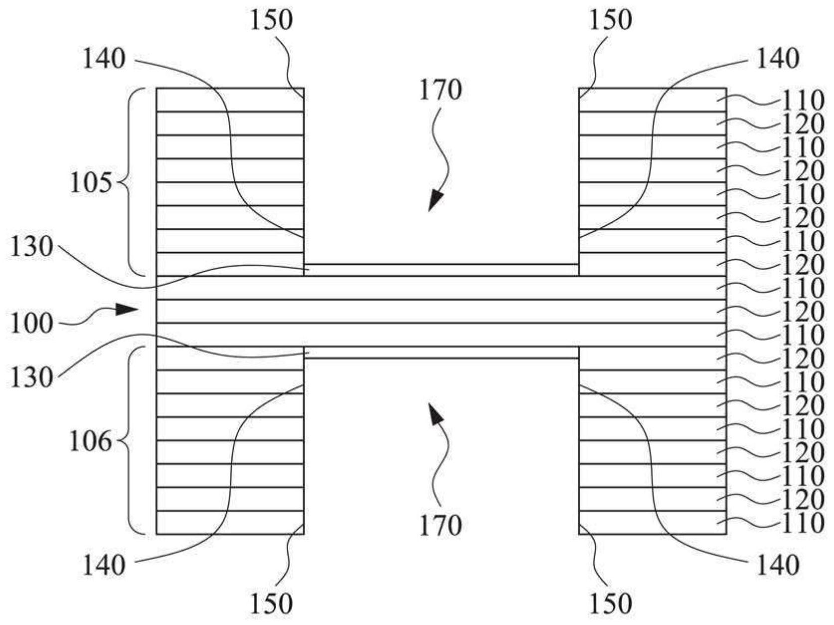
本发明公开一种可挠性电路板的制作方法,包含有下列步骤,提供一第一基板,提供一离型保护膜黏贴于第一基板的一侧,提供一第二基板黏贴第一基板与离型保护膜,使离型保护膜位于第一基板与第二基板之间,机械加工一切削槽,以形成一分离部,以及移除分离部,以形成一可挠性电路板。


