授权公布号:CN110893629B
电路板的制造方法及钻孔机
有效
申请
2018-09-13
申请公布
2020-03-20
授权
2022-05-20
预估到期
2038-09-13
| 申请号 | CN201811066377.1 |
| 申请日 | 2018-09-13 |
| 申请公布号 | CN110893629A |
| 申请公布日 | 2020-03-20 |
| 授权公布号 | CN110893629B |
| 授权公告日 | 2022-05-20 |
| 分类号 | B26F1/16;B26D5/00;H05K3/00 |
| 分类 | 手动切割工具;切割;切断; |
| 申请人名称 | 健鼎(无锡)电子有限公司 |
| 申请人地址 | 江苏省无锡市锡山经济开发区团结中路6号 |
专利法律状态
2022-05-20
授权
状态信息
授权
2020-03-20
公布
状态信息
公布
摘要
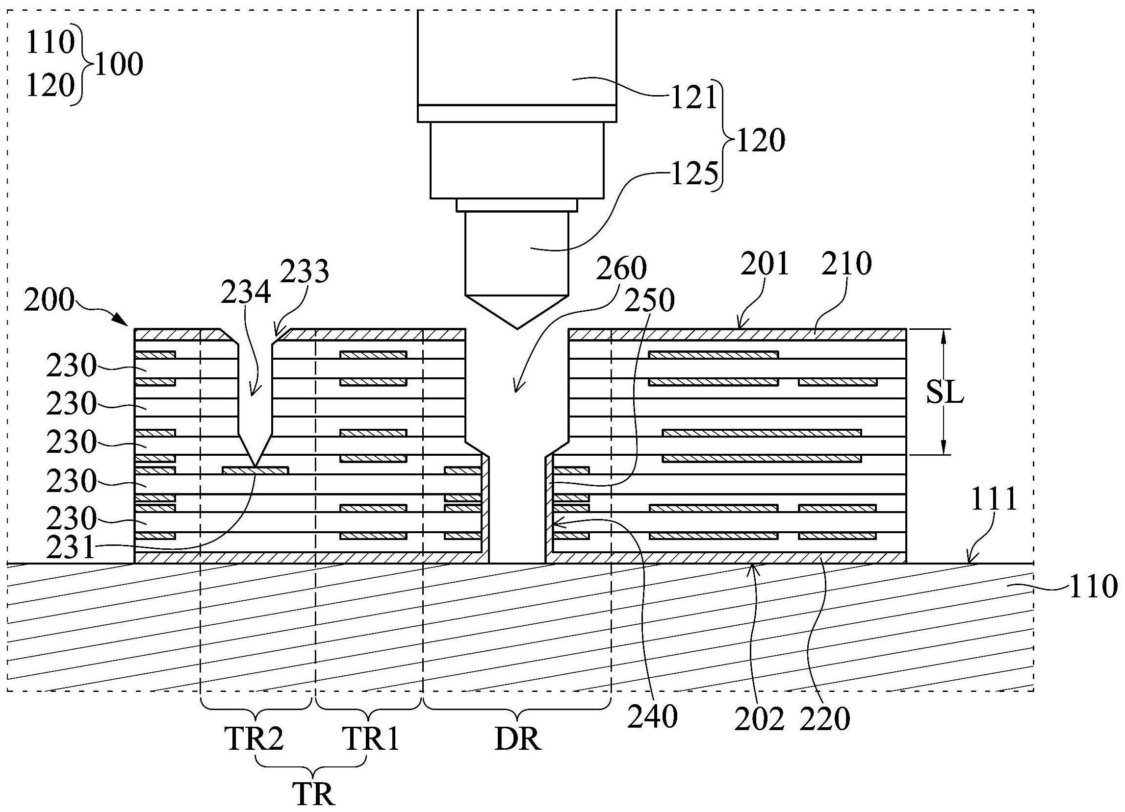
本发明公开一种电路板的制造方法及钻孔机,其中该电路板的制造方法包括:提供钻孔机,其包含工作台及设置于工作台上方的钻头;将电路板设置于工作台,其中,电路板具有顶面及底面、且包含由顶面至底面依序堆叠的多个板结构,电路板进一步定义有预设背钻孔区域及背钻孔深度测试区域,并且多个板结构的其中一个板结构在背钻孔深度测试区域设置内层检测金属垫;依据背钻孔深度测试区域以钻头接触顶面,以获得一第一高度信息;依据背钻孔深度测试区域以钻头接触内层检测金属垫,以获得第二高度信息;依据第一高度信息及第二高度信息计算实际背钻孔深度值。


