授权公布号:CN217287923U
反渗透膜更换设备和反渗透过滤系统
有效
申请
2021-03-16
申请公布
1970-01-01
授权
2022-08-26
预估到期
2031-03-16
| 申请号 | CN202120548347.5 |
| 申请日 | 2021-03-16 |
| 授权公布号 | CN217287923U |
| 授权公告日 | 2022-08-26 |
| 分类号 | B01D61/10;B01D61/08;C02F1/44 |
| 分类 | 一般的物理或化学的方法或装置; |
| 申请人名称 | 奥特斯(中国)有限公司 |
| 申请人地址 | 上海市闵行区莘庄工业区金都路5000号 |
专利法律状态
2022-08-26
授权
状态信息
授权
摘要
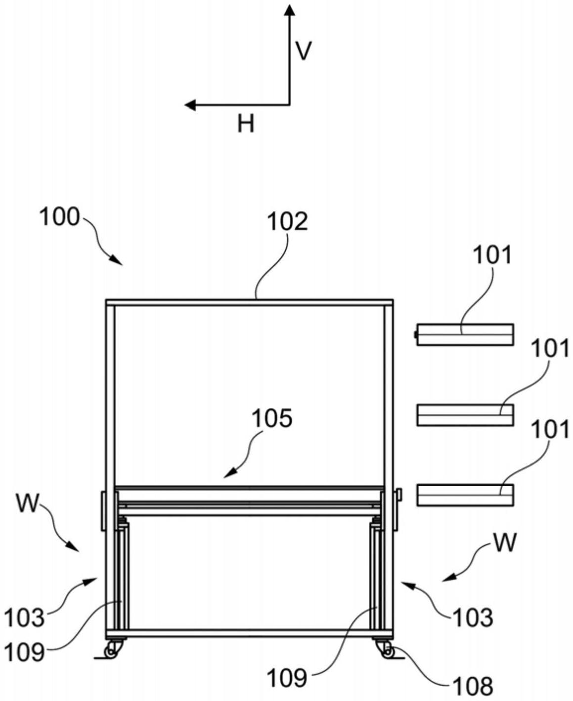
本申请涉及反渗透膜更换设备和反渗透过滤系统。反渗透膜更换设备(100)用于对管形过滤装置室中的反渗透膜(101)进行更换,管形过滤装置室(201)形成为在水平方向上伸长的中空本体,其特征在于,反渗透膜更换设备(100)包括:可移动的支撑结构(102);以及膜保持装置(105),膜保持装置(105)包括具有一个主延伸方向的长形形状,膜保持装置(105)布置成使得膜保持装置(105)相对于膜保持装置的主延伸方向水平地定向,膜保持装置(105)包括可延伸元件(106),可延伸元件构造成延伸到管形过滤装置室(201)的伸长的中空本体中,从而更换反渗透膜。


