授权公布号:CN109413895B
一种层数便于调节的高频混压板叠板设备
有效
申请
2018-12-13
申请公布
2019-03-01
授权
2024-03-22
预估到期
2038-12-13
| 申请号 | CN201811528803.9 |
| 申请日 | 2018-12-13 |
| 申请公布号 | CN109413895A |
| 申请公布日 | 2019-03-01 |
| 授权公布号 | CN109413895B |
| 授权公告日 | 2024-03-22 |
| 分类号 | H05K3/46 |
| 分类 | 其他类目不包含的电技术; |
| 申请人名称 | 奥士康科技股份有限公司 |
| 申请人地址 | 湖南省益阳市资阳区长春工业园龙塘村 |
专利法律状态
2024-03-22
授权
状态信息
授权
2023-12-15
著录事项变更
状态信息
著录事项变更;IPC(主分类):H05K3/46;变更事项:发明人;变更前:王伟业 陈志新 李晓维;变更后:贺波 王伟业 陈志新 李晓维
2019-03-26
实质审查的生效
状态信息
实质审查的生效;IPC(主分类):H05K3/46;申请日:20181213
2019-03-01
公布
状态信息
公布
摘要
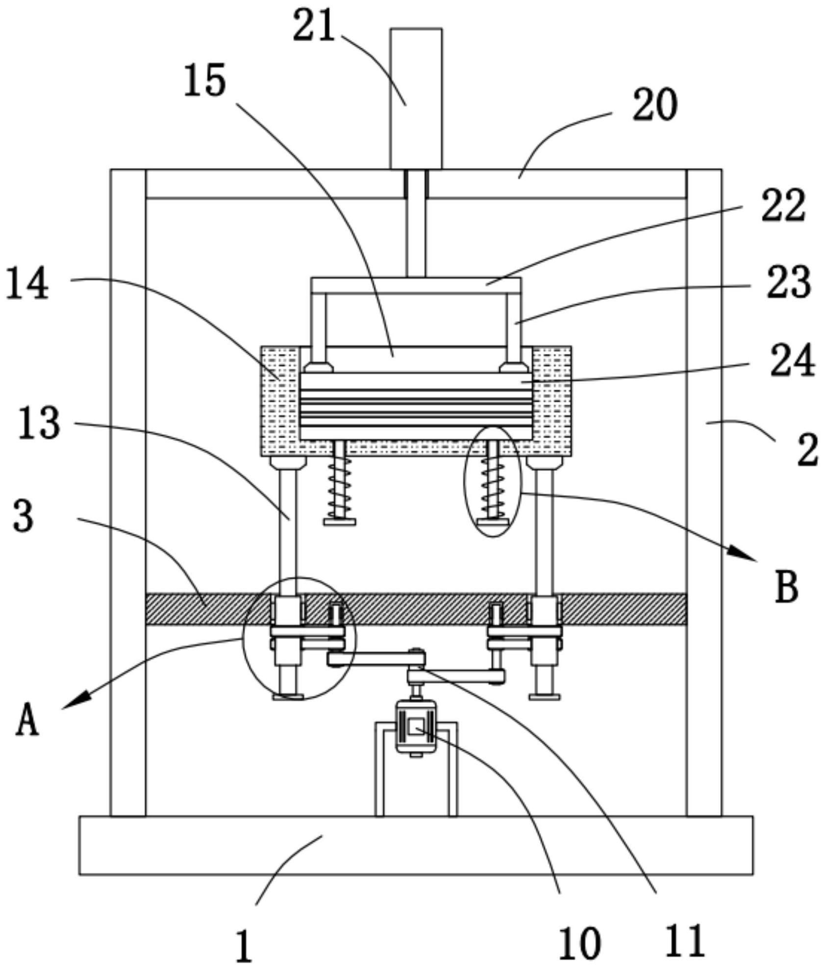
本发明提供一种层数便于调节的高频混压板叠板设备。所述层数便于调节的高频混压板叠板设备包括底座;两个第一支撑板,两个所述第一支撑板对称固定安装在所述底座的顶部;第二支撑板,所述第二支撑板位于两个所述第一支撑板之间,且所述第二支撑板与两个所述第一支撑板固定连接;四个螺纹套管,四个所述螺纹套管呈环形固定安装在所述第二支撑板上;四个第一皮带轮,四个所述第一皮带轮分别固定安装在四个所述螺纹套管的外侧;两个转动杆,两个所述转动杆对称转动安装在所述第二支撑板的底部。本发明提供的层数便于调节的高频混压板叠板设备具有使用方便、操作简单,可对不同层数的高频混压板进行叠板的优点。


