授权公布号:CN219843778U
一种医用FPC结构
有效
申请
2022-12-30
申请公布
1970-01-01
授权
2023-10-17
预估到期
2032-12-30
| 申请号 | CN202223604136.2 |
| 申请日 | 2022-12-30 |
| 授权公布号 | CN219843778U |
| 授权公告日 | 2023-10-17 |
| 分类号 | H05K1/05;H05K1/11;H05K1/03 |
| 分类 | 其他类目不包含的电技术; |
| 申请人名称 | 安捷利(番禺)电子实业有限公司 |
| 申请人地址 | 广东省广州市南沙区望江二街4号1201(A2)房 |
专利法律状态
2023-10-17
授权
状态信息
授权
摘要
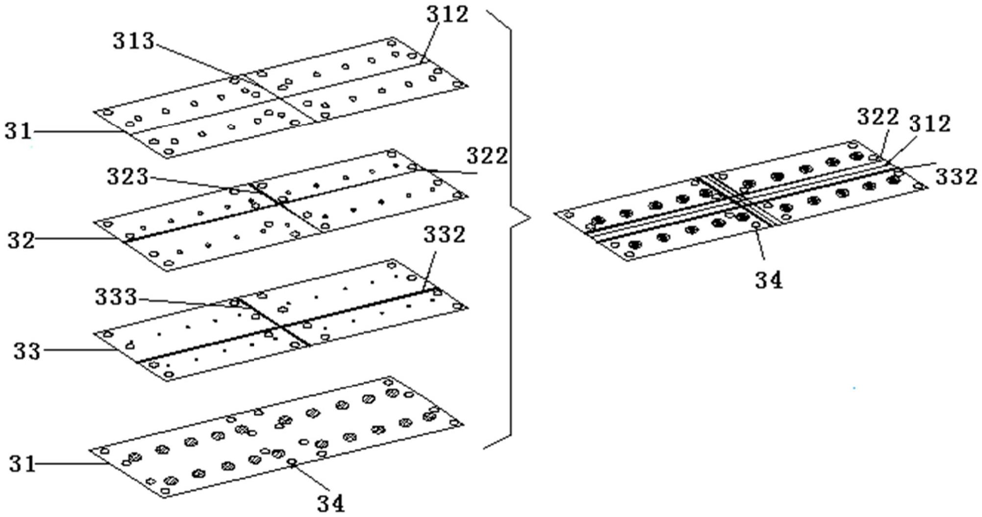
本实用新型公开了一种医用FPC结构,包括基底膜、设置在基底膜两端面的铜箔基材、设置在铜箔基材远离基底膜一端面的覆盖层;铜箔基材包括基材本体、设置在基材本体端面的若干镀金焊盘;覆盖层包括由外到内依次层叠设置在铜箔基材上方的第一层覆盖膜、第二层覆盖膜和第三层覆盖膜,第一层覆盖膜、第二层覆盖膜和第三层覆盖膜通过定点热压固定形成覆盖层;第一层覆盖膜包括第一开窗、第一横向分切线和第一纵向分切线,第一横向分切线与第一纵向分切线均匀分隔第一层覆盖膜;各层覆盖膜的若干开窗与镀金焊盘同轴线设置。本医用FPC结构,在叠合加压时,覆盖膜具有不会滑移和涨缩的优点。


