授权公布号:CN220457648U
一种方便组装的FPC补强结构
有效
申请
2023-08-03
申请公布
1970-01-01
授权
2024-02-06
预估到期
2033-08-03
| 申请号 | CN202322075374.7 |
| 申请日 | 2023-08-03 |
| 授权公布号 | CN220457648U |
| 授权公告日 | 2024-02-06 |
| 分类号 | H05K1/02 |
| 分类 | 其他类目不包含的电技术; |
| 申请人名称 | 安捷利(番禺)电子实业有限公司 |
| 申请人地址 | 广东省广州市南沙区望江二街4号1201(A2)房 |
专利法律状态
2024-02-06
授权
状态信息
授权
摘要
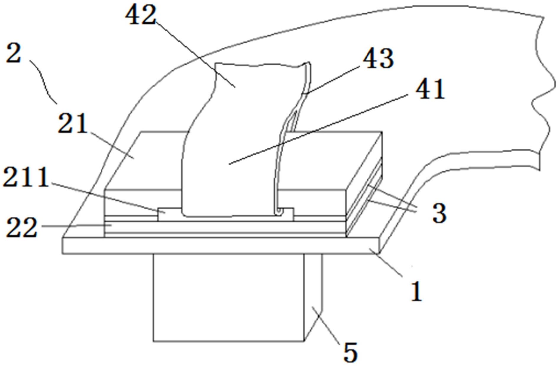
本实用新型公开了一种方便组装的FPC补强结构,包括基板、补强组件、粘接组件和拉手带,基板与补强组件通过粘接组件固定连接;补强组件包括第一补强板和第二补强板,第一补强板位于第二补强板的上方,第一补强板设有开槽;粘接组件包括第一背胶和第二背胶,第一背胶位于第一补强板和第二补强板之间,第二背胶位于第二补强板与基板之间;拉手带包括带体本体、设置在带体本体两端的头部和尾部,带体本体贯穿开槽后绕设第一补强板,头部与尾部固定连接。本方便组装的FPC补强结构,在组装插拔测试时,只需要通过提拉拉手带即可完成,具有无需借助工具进行,不会损伤器件和产品的优点。


