授权公布号:CN111031702B
一种剥料装置
有效
申请
2019-12-30
申请公布
2020-04-17
授权
2022-11-04
预估到期
2039-12-30
| 申请号 | CN201911391536.X |
| 申请日 | 2019-12-30 |
| 申请公布号 | CN111031702A |
| 申请公布日 | 2020-04-17 |
| 授权公布号 | CN111031702B |
| 授权公告日 | 2022-11-04 |
| 分类号 | H05K3/28 |
| 分类 | 其他类目不包含的电技术; |
| 申请人名称 | 安捷利(番禺)电子实业有限公司 |
| 申请人地址 | 广东省广州市南沙区望江二街4号1201(A2)房 |
专利法律状态
2022-11-04
授权
状态信息
授权
2020-04-17
公布
状态信息
公布
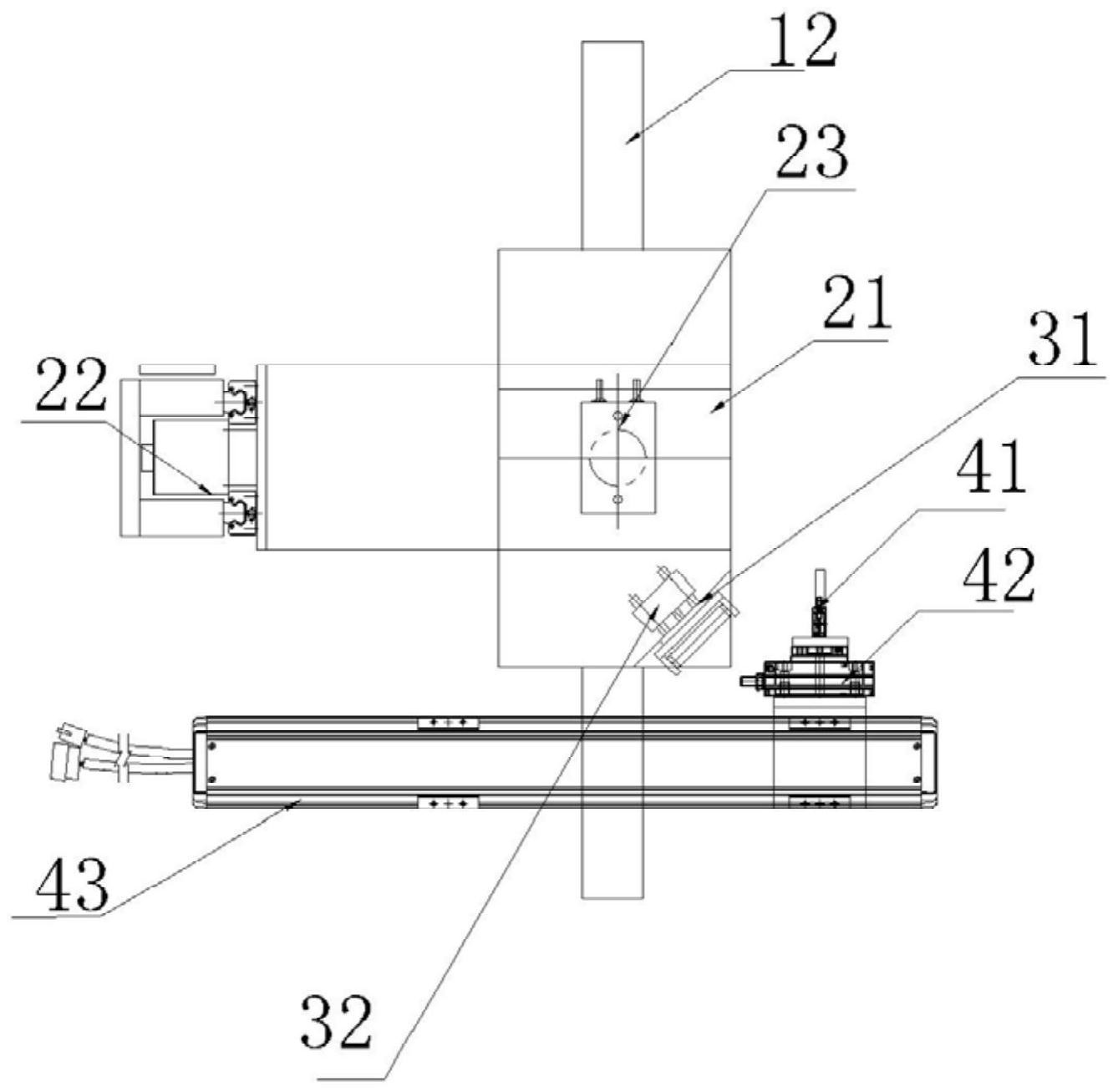
摘要
本发明公开了一种剥料装置,通过设置覆盖膜吸取机构对覆盖膜产品进行吸取,再通过边角黏吸机构对覆盖膜产品的边角进行黏吸以使得覆盖膜与离型纸部分分离,最后通过离型纸剥离机构对离型纸进行撕取,可以有效提高覆盖膜产品的剥料效率,减少人力成本的投入,同时边角黏吸再撕离的方式,可以最大程度上保证覆盖膜的质量,避免覆盖膜在剥料过程中发生损坏。


