授权公布号:CN214638466U
SMT自动清洁装置
有效
申请
2020-12-08
申请公布
1970-01-01
授权
2021-11-09
预估到期
2030-12-08
| 申请号 | CN202022920351.8 |
| 申请日 | 2020-12-08 |
| 授权公布号 | CN214638466U |
| 授权公告日 | 2021-11-09 |
| 分类号 | B08B1/04;B08B5/04;B08B13/00;H05F3/06 |
| 分类 | 清洁; |
| 申请人名称 | 安捷利(番禺)电子实业有限公司 |
| 申请人地址 | 广东省广州市南沙区望江二街4号1201(A2)房 |
专利法律状态
2023-12-15
专利权质押合同登记的生效、变更及注销
状态信息
专利权质押合同登记的注销;IPC(主分类):B08B1/04;授权公告日:20211109;申请日:20201208;专利号:ZL2020229203518;登记号:Y2022440000279;出质人:安捷利(番禺)电子实业有限公司;质权人:中国农业银行股份有限公司广东自由贸易试验区南沙分行;解除日:20231130
2022-11-08
专利权质押合同登记的生效、变更及注销
状态信息
专利权质押合同登记的生效;IPC(主分类):B08B1/04;登记号:Y2022440000279;登记生效日:20221024;出质人:安捷利(番禺)电子实业有限公司;质权人:中国农业银行股份有限公司广东自由贸易试验区南沙分行;实用新型名称:SMT自动清洁装置;申请日:20201208;授权公告日:20211109
2021-11-09
授权
状态信息
授权
摘要
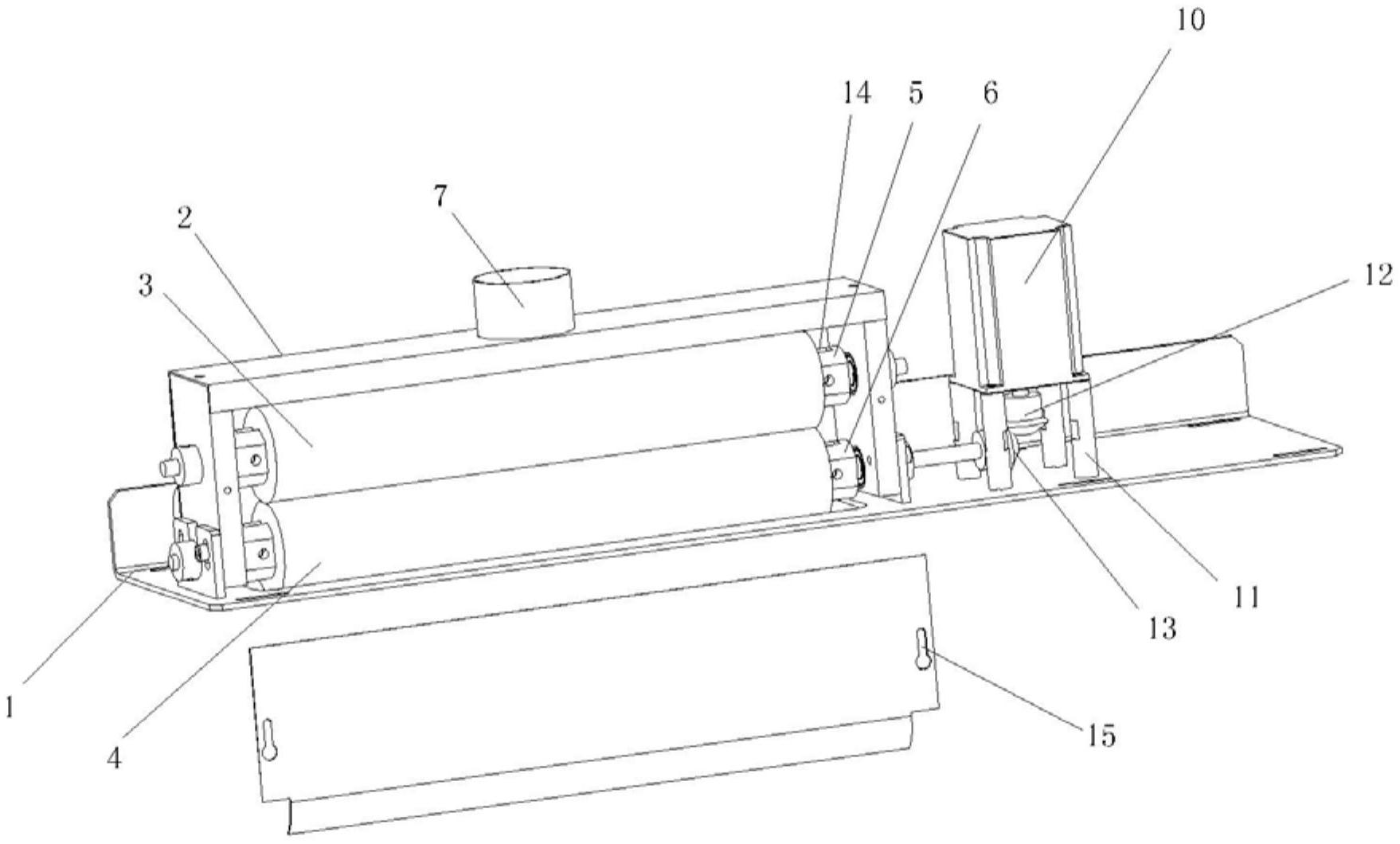
本实用新型公开了一种SMT自动清洁装置,包括安装底板,在所述安装底板上设有除静电组件、抽风组件和除尘组件;所述除尘组件包括除尘毛刷组件、驱动装置和箱体,所述除尘毛刷组件设于箱体内,所述箱体设有用于除去FPC表面灰尘的除尘口,所述驱动装置的驱动端与所述除尘毛刷组件连接;所述抽风组件的抽风端与所述箱体连接;所述除静电组件的除静电端朝向所述FPC表面,用于中和所述FPC表面的带静电灰尘。首先通过除静电组件中和所述FPC表面的带静电灰尘,然后通过除尘组件的除尘毛刷组件来清除FPC表面的灰尘和异物,最后通过抽风组件将毛刷组件的灰尘和异物抽走,降低了FPC产品中发现异物的概率,减少了客诉事件,提高了产品质量。


