授权公布号:CN215824021U
一种具有冲压膜的冲压机
有效
申请
2021-08-17
申请公布
1970-01-01
授权
2022-02-15
预估到期
2031-08-17
| 申请号 | CN202121923328.2 |
| 申请日 | 2021-08-17 |
| 授权公布号 | CN215824021U |
| 授权公告日 | 2022-02-15 |
| 分类号 | B21D28/02;B21D55/00 |
| 分类 | 基本上无切削的金属机械加工;金属冲压; |
| 申请人名称 | 厦门弘信电子科技集团股份有限公司 |
| 申请人地址 | 福建省厦门市火炬高新区(翔安)产业区翔海路19号之2(1#厂房三楼) |
专利法律状态
2022-02-15
授权
状态信息
授权
摘要
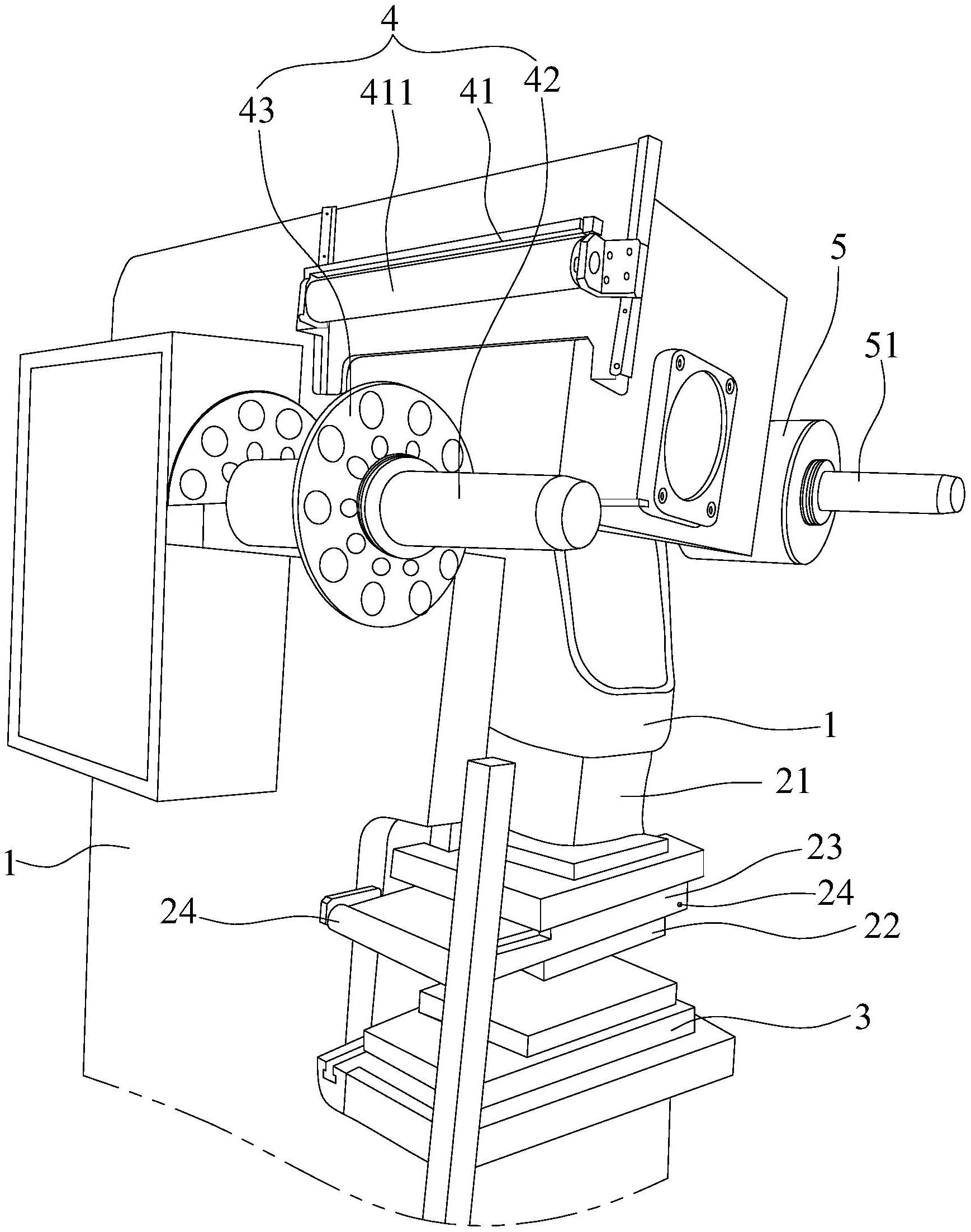
本实用新型公开了一种具有冲压膜的冲压机,其包括具有冲压空间的机架、上下正对设置的上模及下模、设置在机架一侧的放料机构、设置在机架另一侧的收料机构、及冲压膜卷,上模为动模,下模为定模,上模设有托辊安装支架,托辊安装支架的两侧分别设有一托辊,上模的冲头位于两托辊之间,所述放料机构包括放料架及驱动辊,冲压膜卷套置在放料架的放料辊上,且冲压膜卷的一端绕经驱动辊、左侧托辊、下模的冲头、右侧托辊、最后收卷在收料机构的收料辊上。本实用新型冲压膜可替代现有冲头底部粘贴的透明板,省去粘贴及更换透明板的时间,因此可大幅度提高冲压效率。


