授权公布号:CN113365427B
不对称板的制作方法
有效
申请
2021-05-27
申请公布
2021-09-07
授权
2022-11-15
预估到期
2041-05-27
| 申请号 | CN202110584132.3 |
| 申请日 | 2021-05-27 |
| 申请公布号 | CN113365427A |
| 申请公布日 | 2021-09-07 |
| 授权公布号 | CN113365427B |
| 授权公告日 | 2022-11-15 |
| 分类号 | H05K3/00;H05K3/46 |
| 分类 | 其他类目不包含的电技术; |
| 申请人名称 | 深圳市景旺电子股份有限公司 |
| 申请人地址 | 广东省深圳市宝安区西乡街道铁岗水库路166号 |
专利法律状态
2022-11-15
授权
状态信息
授权
2021-09-07
公布
状态信息
公布
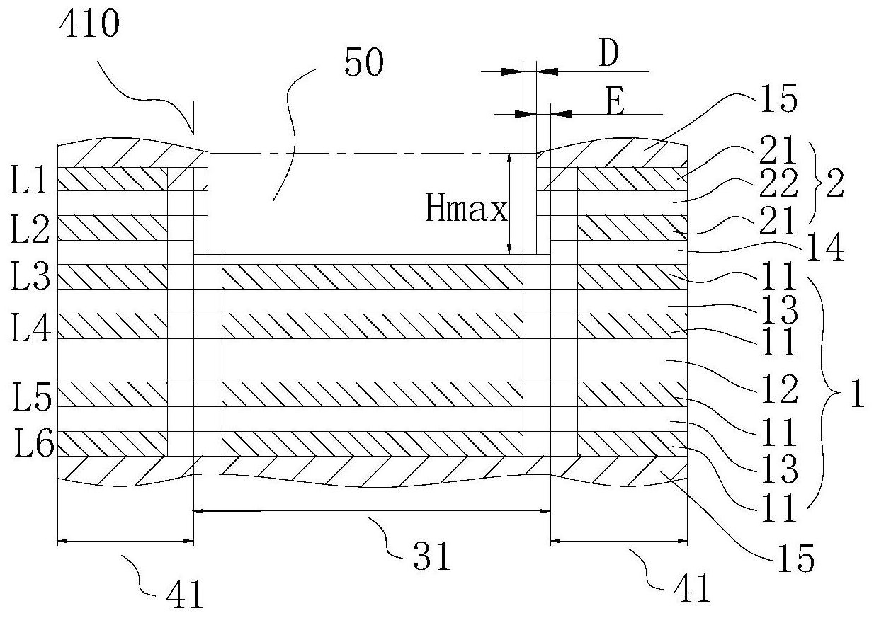
摘要
本申请适用于电路板制造技术领域,提供了一种不对称板的制作方法,该不对称板的制作方法包括制作第一母板、制作第二母板、将第一母板和第二母板热压合、锣板得到多个拼板,以及在每一拼板内单元与单元之间的连接位内由第二母板一侧进行控深锣并得到控深槽,控深槽能够为第二母板的膨胀让出空间,减少单元的应力,降低第二母板的翘曲;且,当拼板第一方向/第二方向上控深槽的数量小于3个时,各连接位内控深槽深度相等;当拼板第一方向/第二方向上控深槽的数量大于或等于3个时,各连接位内控深槽的深度由拼板的中心至边缘依次增大,拼板的边缘的控深槽深度更大,因而对翘曲的改善作用更加明显,从而,拼板边缘的翘曲能够被明显抑制。


