授权公布号:CN217825487U
不对称板
有效
申请
2022-05-27
申请公布
1970-01-01
授权
2022-11-15
预估到期
2032-05-27
| 申请号 | CN202221316753.X |
| 申请日 | 2022-05-27 |
| 授权公布号 | CN217825487U |
| 授权公告日 | 2022-11-15 |
| 分类号 | H05K1/02 |
| 分类 | 其他类目不包含的电技术; |
| 申请人名称 | 深圳市景旺电子股份有限公司 |
| 申请人地址 | 广东省深圳市宝安区西乡街道铁岗水库路166号 |
专利法律状态
2022-11-15
授权
状态信息
授权
摘要
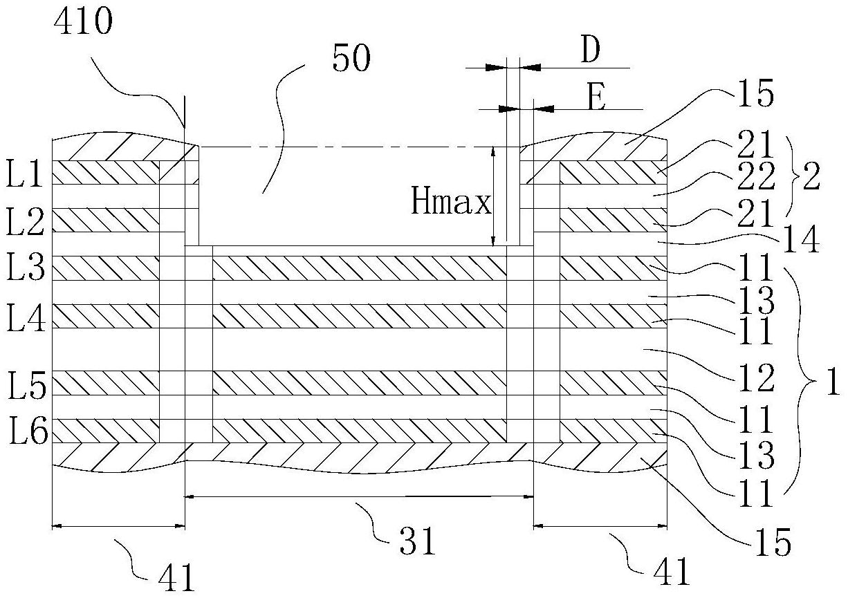
本申请适用于电路板技术领域,提供了一种不对称板,该不对称板包括第一母板、第二母板,以及夹置于第一母板和第二母板之间的绝缘介质层,不对称板上单元与单元之间的连接位内、第二母板的表面上设有向第一母板侧延伸的控深槽,控深槽能够为第二母板的膨胀让出空间,减少单元的应力,降低第二母板的翘曲,从而,该不对称板整体的翘曲可以改善。


