授权公布号:CN114501812B
塞孔装置及PCB树脂塞孔方法
有效
申请
2022-01-21
申请公布
2022-05-13
授权
2024-02-09
预估到期
2042-01-21
| 申请号 | CN202210070611.8 |
| 申请日 | 2022-01-21 |
| 申请公布号 | CN114501812A |
| 申请公布日 | 2022-05-13 |
| 授权公布号 | CN114501812B |
| 授权公告日 | 2024-02-09 |
| 分类号 | H05K3/00 |
| 分类 | 其他类目不包含的电技术; |
| 申请人名称 | 深圳市景旺电子股份有限公司 |
| 申请人地址 | 广东省深圳市宝安区西乡街道铁岗水库路166号 |
专利法律状态
2024-02-09
授权
状态信息
授权
2022-05-31
实质审查的生效
状态信息
实质审查的生效;IPC(主分类):H05K3/00;申请日:20220121
2022-05-13
公布
状态信息
公布
摘要
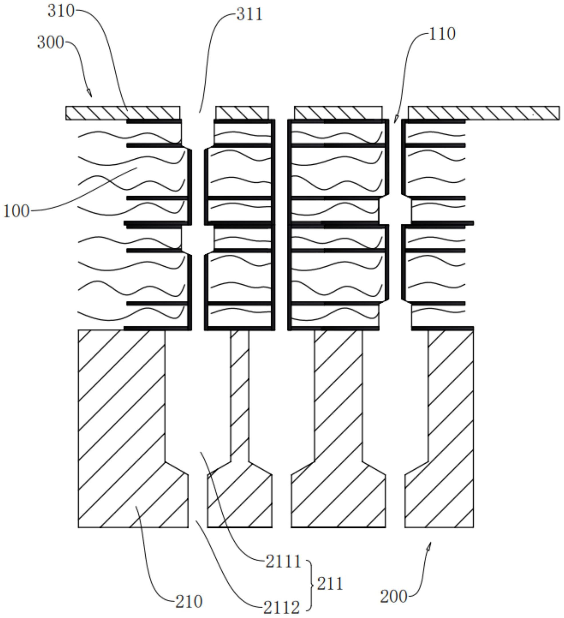
本申请属于印刷电路板技术领域,提供了一种塞孔装置及PCB树脂塞孔方法。塞孔装置包括从上至下依次设置的至少两层加工空间,每层加工空间用于安装一片PCB,PCB开设有多个塞孔,相邻的两片PCB的塞孔一一对应的设置;位于上方的PCB的塞孔被树脂油墨塞满,多余的树脂油墨流入位于下方的PCB的塞孔内。本申请中,塞孔处理时,将各PCB上下重叠放置在塞孔机台面上,且使各PCB的塞孔一一对应的设置,然后利用刮刀使树脂油墨流入位于上方的PCB的塞孔内,直至将位于上方的PCB的塞孔塞满为止,此时多余的树脂油墨将会流入位于下方的PCB的塞孔内,从而达到一次塞孔即可完成塞孔处理的效果。


