授权公布号:CN217064096U
一种HDI板的耐压结构
有效
申请
2022-04-02
申请公布
1970-01-01
授权
2022-07-26
预估到期
2032-04-02
| 申请号 | CN202220750954.4 |
| 申请日 | 2022-04-02 |
| 授权公布号 | CN217064096U |
| 授权公告日 | 2022-07-26 |
| 分类号 | H05K1/02 |
| 分类 | 其他类目不包含的电技术; |
| 申请人名称 | 联能科技(深圳)有限公司 |
| 申请人地址 | 广东省深圳市宝安区沙井街道创新路沙一环保工业城B栋、C栋、D栋 |
专利法律状态
2022-07-26
授权
状态信息
授权
摘要
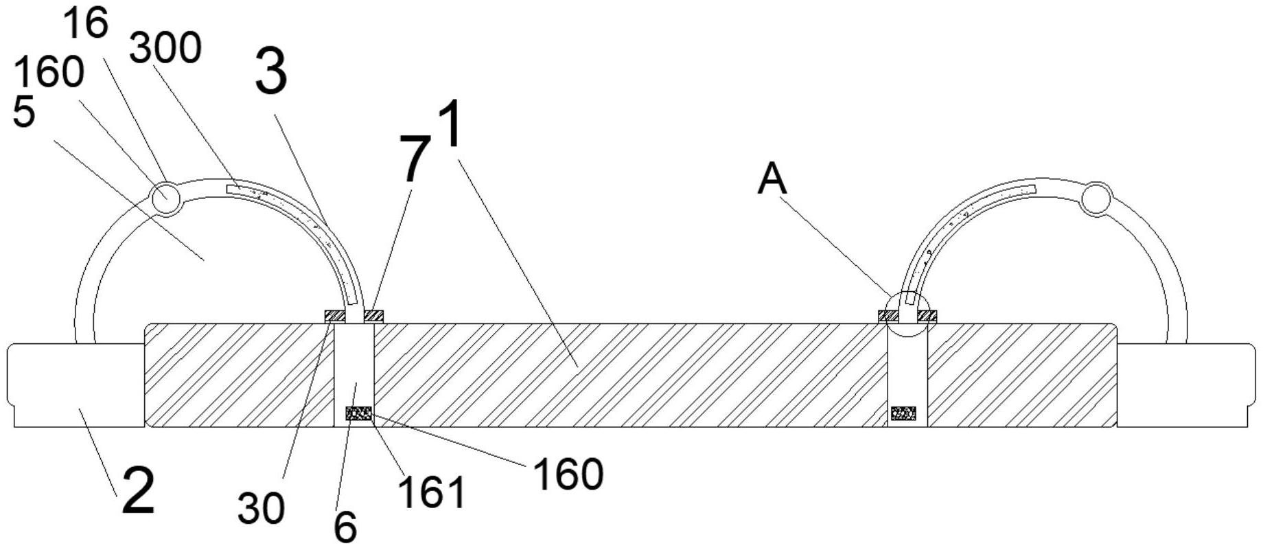
本实用新型公开了一种HDI板的耐压结构,包括HDI板主体,HDI板主体的侧面设置多个延伸部,延伸部上设置抗压组件,抗压组件包括有挡片,挡片的一端和延伸部连接,挡片和HDI板主体之间形成有缓冲位,HDI板主体上设置多个定位孔,定位孔内固定有连接块,连接块和挡片连接,挡片上形成有多个加厚部,加厚部内设置内腔,连接块上套设固定有导热环,导热环通过导热胶与HDI板主体连接。本实用新型在使用时,整块HDI板被延伸部、挡片等保护,挡片对HDI板的顶面进行抗压保护,整块HDI板的抗压效果提升,不易损坏;当受到外界的压力时,HDI板自身不易损坏,提升了HDI板安装的稳定性,利用HDI板的长久使用。


