授权公布号:CN217517050U
一种HDI板精细化镀铜装置
有效
申请
2022-04-02
申请公布
1970-01-01
授权
2022-09-30
预估到期
2032-04-02
| 申请号 | CN202220772502.6 |
| 申请日 | 2022-04-02 |
| 授权公布号 | CN217517050U |
| 授权公告日 | 2022-09-30 |
| 分类号 | C25D17/00;C25D7/00;C25D21/02;C25D21/04;C25D21/10 |
| 分类 | 电解或电泳工艺;其所用设备〔4〕; |
| 申请人名称 | 联能科技(深圳)有限公司 |
| 申请人地址 | 广东省深圳市宝安区沙井街道创新路沙一环保工业城B栋、C栋、D栋 |
专利法律状态
2022-09-30
授权
状态信息
授权
2022-04-02
公布
状态信息
公布
摘要
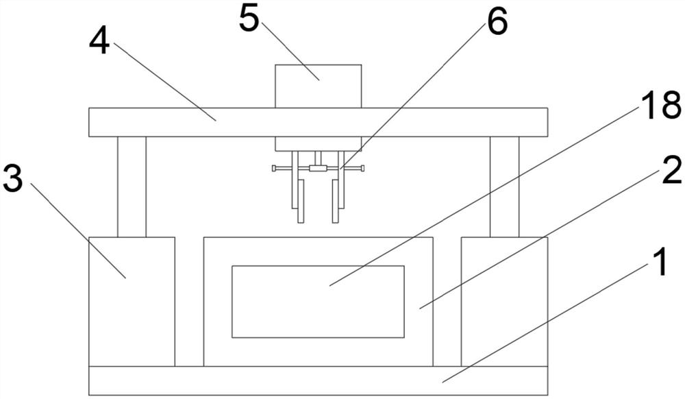
本实用新型公开了一种HDI板精细化镀铜装置,包括底板、电镀液箱以及升降组件;所述电镀液箱固定于底板上,升降组件设置于电镀液箱的两侧,且升降组件的输出轴上安装有升降板;所述升降板中央固定有旋转电机,旋转电机的输出轴上连接有夹紧组件,且夹紧组件的位置与电镀液箱的位置相对应。本实用新型结构简单,通过旋转电机旋转从而起到去除气泡的作用,通过夹紧组件的设置,使其夹紧更加方便,并且可以适应不同尺寸的HDI板,便于使用。


