授权公布号:CN102811565B
电路板及其制造方法
有效
申请
2011-06-03
申请公布
2012-12-05
授权
2015-05-20
预估到期
2031-06-03
| 申请号 | CN201110158073.X |
| 申请日 | 2011-06-03 |
| 申请公布号 | CN102811565A |
| 申请公布日 | 2012-12-05 |
| 授权公布号 | CN102811565B |
| 授权公告日 | 2015-05-20 |
| 分类号 | H05K3/32;H05K3/42;H05K3/46;H05K1/11 |
| 分类 | 其他类目不包含的电技术; |
| 申请人名称 | 联能科技(深圳)有限公司 |
| 申请人地址 | 广东省深圳市宝安区沙井镇沙一村环保工业城A栋 |
专利法律状态
2015-05-20
授权
状态信息
授权
2013-02-27
实质审查的生效
状态信息
实质审查的生效IPC(主分类):H05K 3/32申请日:20110603
2012-12-05
公布
状态信息
公开
摘要
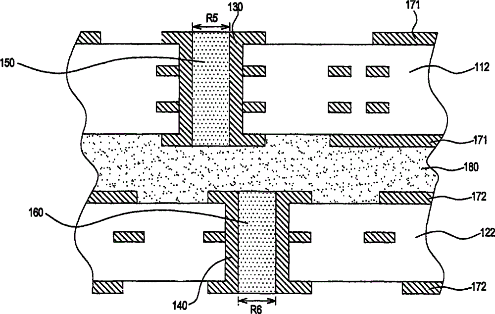
本发明是有关于一种电路板的制造方法,首先,提供一第一基板与一第二基板。第一基板包括一第一绝缘层与至少一位在第一绝缘层内的第一贯孔。第二基板包括一第二绝缘层。接着,利用通孔电镀,在第一贯孔内形成一第一金属筒。之后,在第一金属筒内填满一填充物。形成二第一线路层与二第二线路层。之后,在第一绝缘层与第二绝缘层之间形成一接触填充物的粘合层。在形成粘合层之后,对填充物进行钻孔,以移除填充物,并使第一金属筒成为一第一压配筒。第一压配筒具有一孔径大于第一金属筒内径的第一压配孔。


