授权公布号:CN102169871B
抗静电的电路结构及制造方法
有效
申请
2010-02-26
申请公布
2011-08-31
授权
2013-03-27
预估到期
2030-02-26
| 申请号 | CN201010122705.2 |
| 申请日 | 2010-02-26 |
| 申请公布号 | CN102169871A |
| 申请公布日 | 2011-08-31 |
| 授权公布号 | CN102169871B |
| 授权公告日 | 2013-03-27 |
| 分类号 | H01L23/60 |
| 分类 | 基本电气元件; |
| 申请人名称 | 联能科技(深圳)有限公司 |
| 申请人地址 | 广东省深圳市宝安区沙井街道创新路沙一环保工业城A栋 |
专利法律状态
2013-03-27
授权
状态信息
授权
2011-10-12
实质审查的生效
状态信息
实质审查的生效IPC(主分类):H01L 23/60申请日:20100226
2011-08-31
公布
状态信息
公开
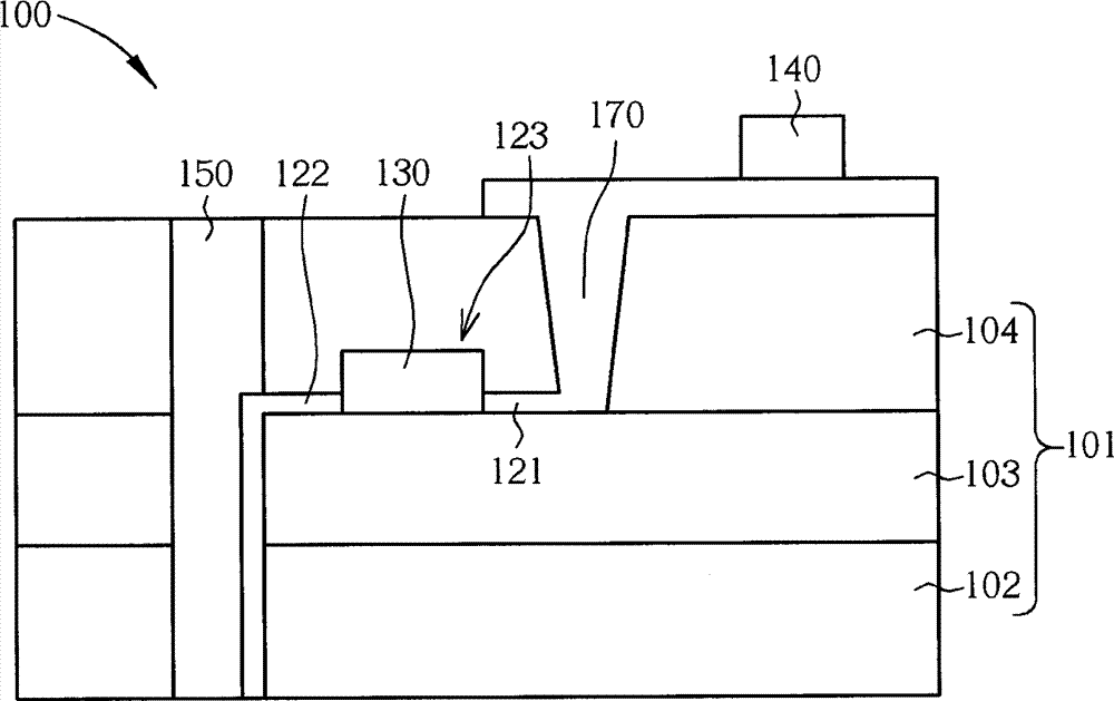
摘要
一种抗静电的电路结构,包括载板、第一线路、第二线路以及抗静电材料层。第一线路位于载板上,而第二线路也位于载板上并同时接地。位于载板上的抗静电材料层,则分别与第一线路与第二线路电连接。


