授权公布号:CN204297946U
起重设备的运行驱动装置及系统
失效
申请
2014-08-29
申请公布
1970-01-01
授权
2015-04-29
预估到期
2024-08-29
| 申请号 | CN201420495924.9 |
| 申请日 | 2014-08-29 |
| 授权公布号 | CN204297946U |
| 授权公告日 | 2015-04-29 |
| 分类号 | B66C11/16 |
| 分类 | 卷扬;提升;牵引; |
| 申请人名称 | 科尼起重机设备(上海)有限公司 |
| 申请人地址 | 中国上海市普陀区绥德路789号 |
专利法律状态
2023-09-08
专利权的终止
状态信息
未缴年费专利权终止;IPC(主分类):B66C 11/16;专利号:ZL2014204959249;申请日:20140829;授权公告日:20150429;终止日期:
2015-04-29
授权
状态信息
授权
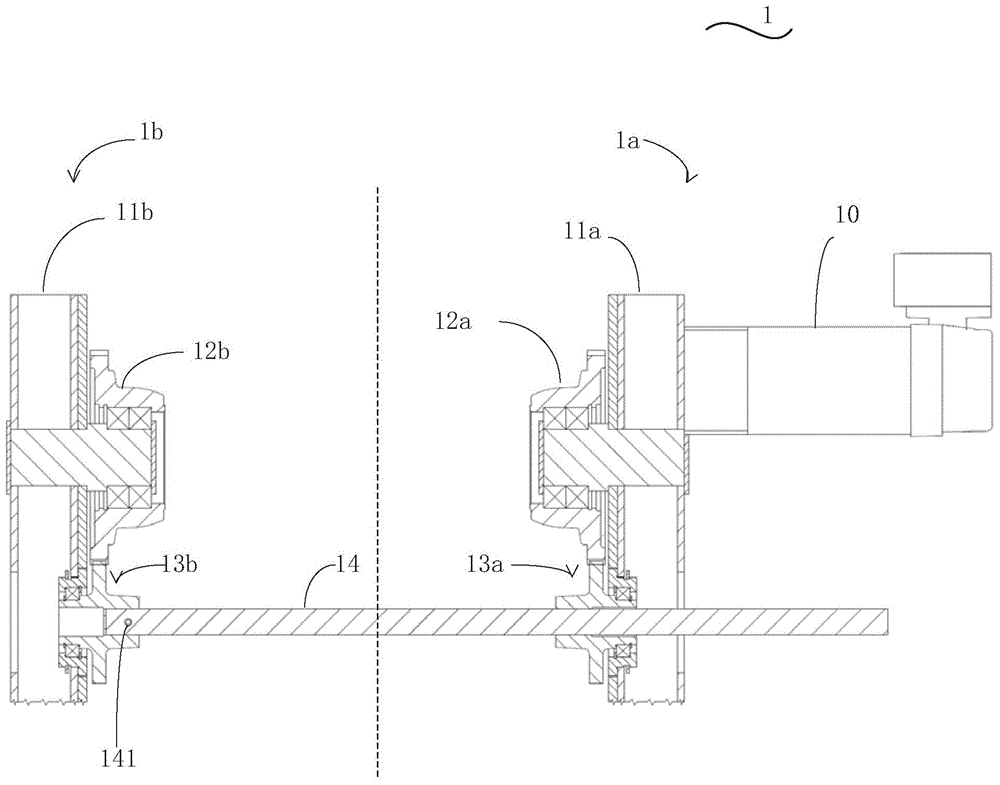
摘要
本实用新型实施例提供了一种起重设备的运行驱动装置和系统,其中,所述运行驱动装置包括:驱动轮;齿轮传动装置,与所述驱动轮齿轮配合,能够在驱动轮带动下转动;支撑架,用于安装驱动轮和齿轮传动装置;所述支撑架的用于安装所述齿轮传动装置的孔稍大于装配所述齿轮传动装置所需的尺寸。通过加大支撑架中用于容纳齿轮传动装置的孔的尺寸,这样,支撑架和齿轮传动装置配合后留有的间隙能够容许所述起重设备在使用过程中的变形,从而在保证运行驱动装置的正常工作情况下,使得其驱动杆不容易变形且可以达到降低成本的目的。


