授权公布号:CN218968729U
一种重量限制器的安装结构
有效
申请
2022-12-29
申请公布
1970-01-01
授权
2023-05-05
预估到期
2032-12-29
| 申请号 | CN202223538438.4 |
| 申请日 | 2022-12-29 |
| 授权公布号 | CN218968729U |
| 授权公告日 | 2023-05-05 |
| 分类号 | B66C23/88;B66C13/16 |
| 分类 | 卷扬;提升;牵引; |
| 申请人名称 | 马尼托瓦克起重设备(中国)有限公司 |
| 申请人地址 | 江苏省苏州市张家港经济开发区马尼托瓦克起重设备(中国)有限公司 |
专利法律状态
2023-05-05
授权
状态信息
授权
摘要
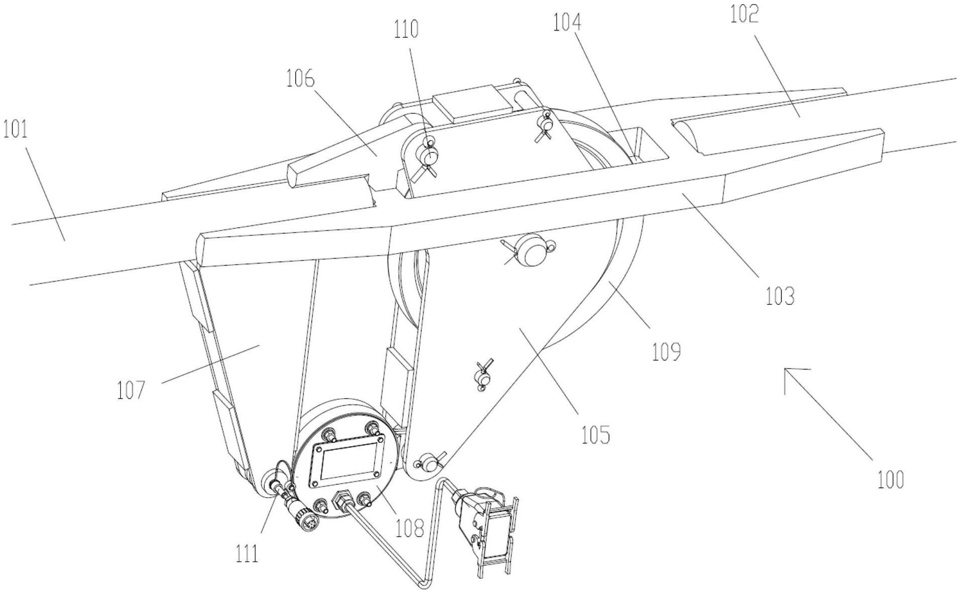
本申请公开了一种重量限制器的安装结构,包括第一弦杆、第二弦杆以及连接所述第一弦杆与第二弦杆的弦杆连接器,所述弦杆连接器的中部形成有一空腔,所述空腔内贯穿设置有轮滑支架,所述弦杆连接器的顶部与底部分别固定设置有上支耳与下支耳,所述上支耳固定连接于所述轮滑支架的顶部,所述轮滑支架的底部与所述下支耳的底部分别固定连接于拉力环的两端。本实用新型可将重量限制其布置在塔式起重机起重臂上弦杆的任意位置,布置方便。


