授权公布号:CN215666808U
一种塔机载重小车断绳保护装置
有效
申请
2021-07-30
申请公布
1970-01-01
授权
2022-01-28
预估到期
2031-07-30
| 申请号 | CN202121761338.0 |
| 申请日 | 2021-07-30 |
| 授权公布号 | CN215666808U |
| 授权公告日 | 2022-01-28 |
| 分类号 | B66C23/88;B66C23/62 |
| 分类 | 卷扬;提升;牵引; |
| 申请人名称 | 马尼托瓦克起重设备(中国)有限公司 |
| 申请人地址 | 江苏省苏州市张家港经济开发区马尼托瓦克起重设备(中国)有限公司 |
专利法律状态
2022-01-28
授权
状态信息
授权
摘要
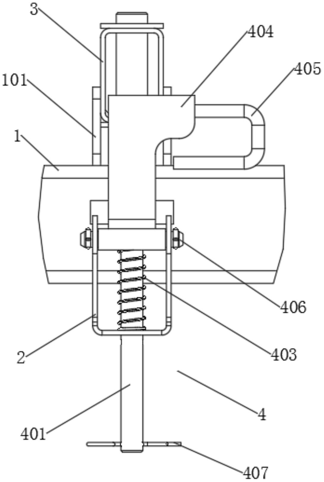
本实用新型公开了一种塔机载重小车断绳保护装置,包括:载重车架、固定钢架、加强钢架、断绳保护机构;固定钢架与载重车架的一侧相连接;加强钢架设于载重车架远离固定钢架的一侧;断绳保护机构设于固定钢架与加强钢架之间,断绳保护机构包括移动锁止杆,移动锁止杆远离载重车架的一侧设有触发控制件,载重车架与加强钢架之间连接有弧形连接件。本实用新型通过改变对载重小车进行断绳保护的方式,减小了载重小车保护装置使用过程中出现固定脱离的情况,提高了载重小车保护装置使用过程中的稳定性,降低了载重小车在变幅绳断裂的情况下出现不可控晃动的风险,提高了载重小车使用过程中的安全性。


