授权公布号:CN216072826U
一种X型腹杆整体标准节
有效
申请
2021-11-16
申请公布
1970-01-01
授权
2022-03-18
预估到期
2031-11-16
| 申请号 | CN202122803285.0 |
| 申请日 | 2021-11-16 |
| 授权公布号 | CN216072826U |
| 授权公告日 | 2022-03-18 |
| 分类号 | B66C23/62;B66C23/78 |
| 分类 | 卷扬;提升;牵引; |
| 申请人名称 | 马尼托瓦克起重设备(中国)有限公司 |
| 申请人地址 | 江苏省苏州市张家港经济开发区马尼托瓦克起重设备(中国)有限公司 |
专利法律状态
2022-03-18
授权
状态信息
授权
摘要
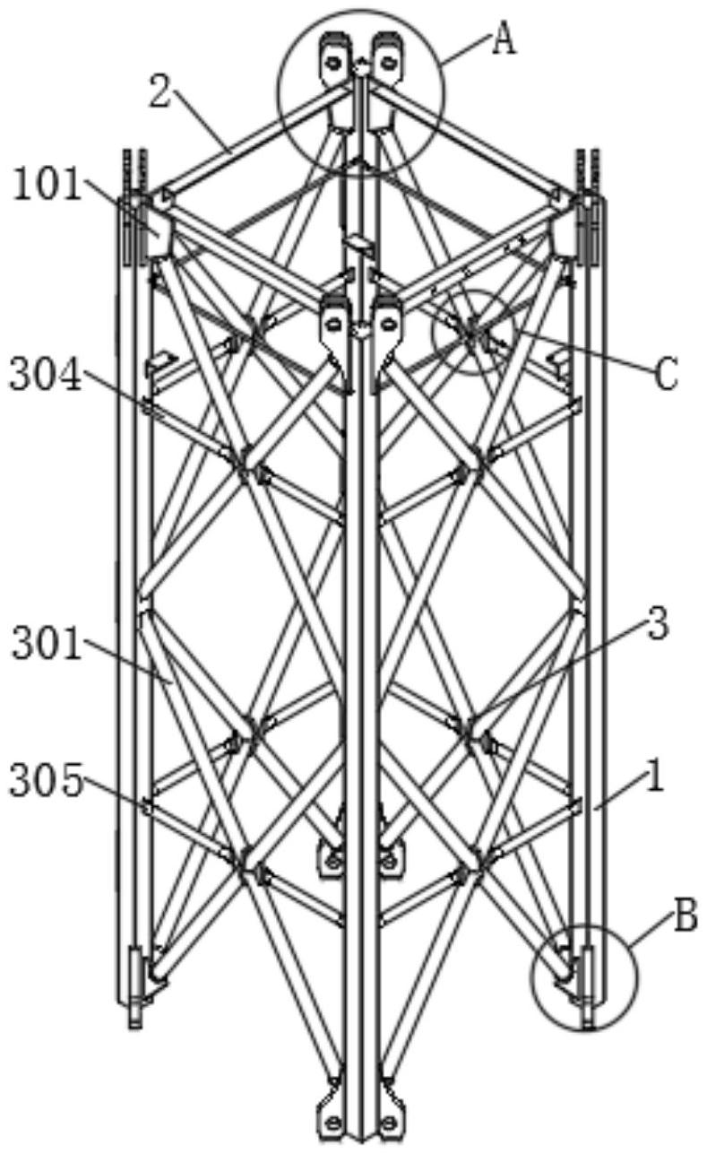
本实用新型公开了一种X型腹杆整体标准节,包括:主弦杆、第一水平腹杆和节点板;多个主弦杆的两端分别安装有上支撑板和下支撑板;第一水平腹杆设于一对上支撑板之间;节点板设于一对主弦杆之间,节点板与主弦杆之间固定连接有多个斜腹杆,斜腹杆远离节点板的一端连接有连接块,连接块固定于上支撑板和下支撑板上,一对斜腹杆之间设有支撑连接板,支撑连接板与主弦杆之间连接有第二水平腹杆。本实用新型通过对塔机标准节相应机构的设置,减小塔机标准节的主弦杆与加强管的焊缝,缩短需要焊接的长度,从而降低焊接时长,进而提高焊接效率,降低塔机标准节的制造成本,为使用者提高收益。


