授权公布号:CN216512565U
一种塔机用回转上支座
有效
申请
2021-12-24
申请公布
1970-01-01
授权
2022-05-13
预估到期
2031-12-24
| 申请号 | CN202123290559.7 |
| 申请日 | 2021-12-24 |
| 授权公布号 | CN216512565U |
| 授权公告日 | 2022-05-13 |
| 分类号 | B66C23/84 |
| 分类 | 卷扬;提升;牵引; |
| 申请人名称 | 马尼托瓦克起重设备(中国)有限公司 |
| 申请人地址 | 江苏省苏州市张家港经济开发区马尼托瓦克起重设备(中国)有限公司 |
专利法律状态
2022-05-13
授权
状态信息
授权
摘要
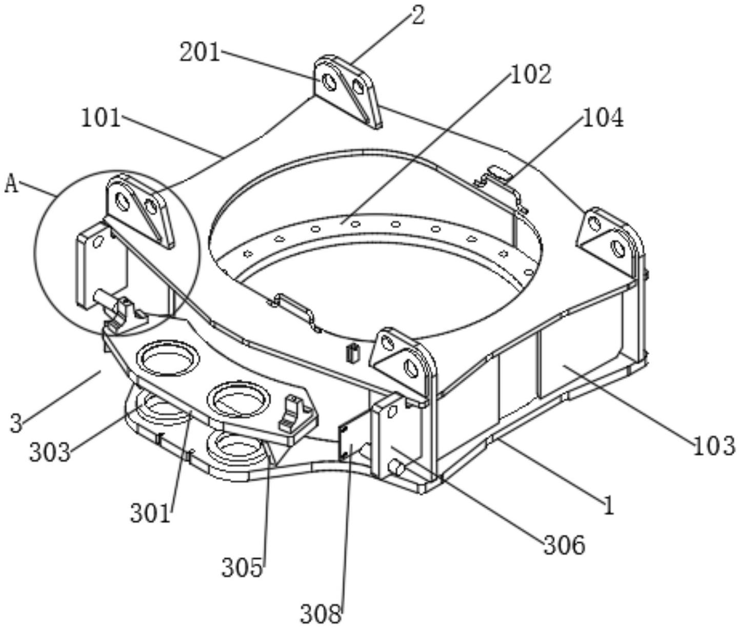
本实用新型公开了一种塔机用回转上支座,包括下面板,下面板的一侧设有上面板,上面板的外侧开凿有多个均匀分布的卡合槽,多个吊装板,设于卡合槽内,吊装板的两侧均连接有吊耳加强片,连接组件,设于下面板与上面板之间,连接组件包括连接板,连接板的两侧均连接有电机安装支架。本实用新型通过对塔机用回转上支座进行结构优化,简化了塔机用回转上支座的生产加工过程,提高了塔机用回转上支座的加工与使用便捷性,降低了塔机用回转上支座的自重,减小了塔机在使用过程中受回转上支座重量的影响出现运行稳定性差的情况,降低了塔机用回转上支座的制造成本,提高了塔机用回转上支座的使用性能。


