授权公布号:CN216235752U
一种适用于动臂塔机的防后倾装置
有效
申请
2021-12-07
申请公布
1970-01-01
授权
2022-04-08
预估到期
2031-12-07
| 申请号 | CN202123063094.1 |
| 申请日 | 2021-12-07 |
| 授权公布号 | CN216235752U |
| 授权公告日 | 2022-04-08 |
| 分类号 | B66C23/64;B66C23/687 |
| 分类 | 卷扬;提升;牵引; |
| 申请人名称 | 马尼托瓦克起重设备(中国)有限公司 |
| 申请人地址 | 江苏省苏州市张家港经济开发区马尼托瓦克起重设备(中国)有限公司 |
专利法律状态
2022-04-08
授权
状态信息
授权
摘要
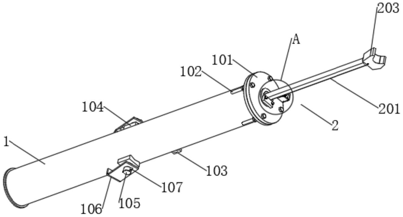
本实用新型公开了一种适用于动臂塔机的防后倾装置,包括支撑筒,支撑筒的一侧连接有限位端盖,限位端盖与支撑筒之间连接有多个均匀分布的固定螺栓,支撑筒的外侧连接有一对限位环,防后倾保护机构,设于支撑筒的一侧,防后倾保护机构包括支撑活塞杆,支撑活塞杆与限位端盖之间滑动连接有移动活塞,支撑活塞杆远离移动活塞的一端连接有支撑卡合件,支撑筒远离限位环的两侧均连接有固定件。本实用新型通过对动臂塔机增加相应的防后倾保护机构,可以对动臂塔机起到防倾倒保护的作用,减小了动臂塔机在动态吊臂的影响下出现倾倒的情况,提高了动臂塔机的运行安全性,降低了动臂塔机使用过程中的安全隐患。


